EasyManua.ls Logo

Panasonic NV-DA1 - Page 24

Panasonic NV-DA1
209 pages
Print Icon
To Next Page IconTo Next Page
To Next Page IconTo Next Page
To Previous Page IconTo Previous Page
To Previous Page IconTo Previous Page
Loading...
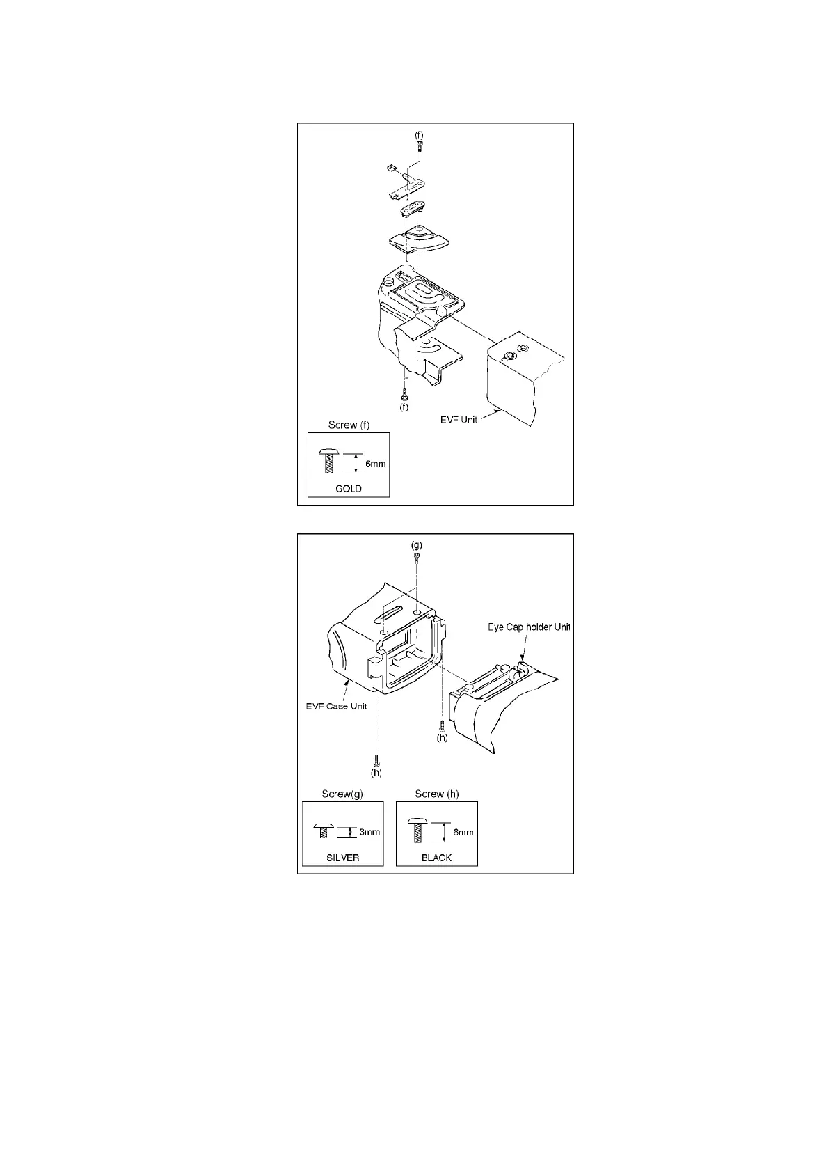
Fig.10-1
Fig.10-2
24

Related product manuals