EasyManua.ls Logo

Panasonic NV-DS77 - Page 13

Panasonic NV-DS77
162 pages
To Next Page IconTo Next Page
To Next Page IconTo Next Page
To Previous Page IconTo Previous Page
To Previous Page IconTo Previous Page
Loading...
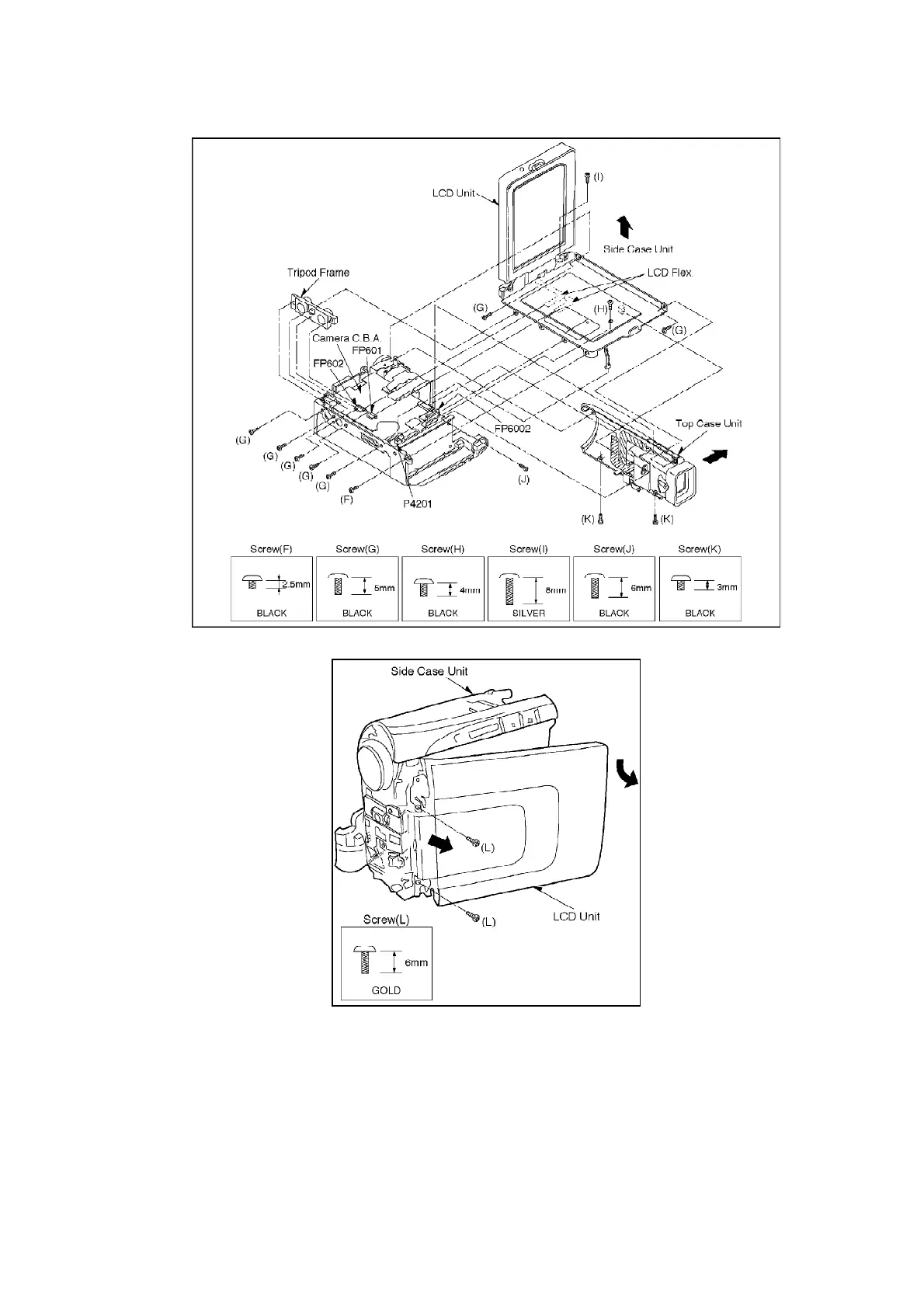
Fig.3
Fig.4-1

Related product manuals