EasyManua.ls Logo

Panasonic NV-DS77 - Page 14

Panasonic NV-DS77
162 pages
To Next Page IconTo Next Page
To Next Page IconTo Next Page
To Previous Page IconTo Previous Page
To Previous Page IconTo Previous Page
Loading...
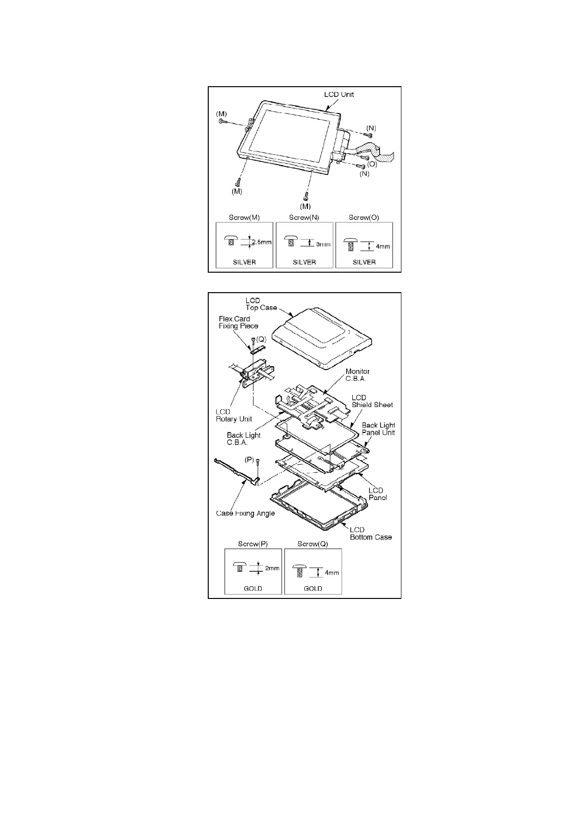
Fig.4-2
Fig.4-3

Related product manuals