EasyManua.ls Logo

Panasonic PAW-FC2A-K007IR

Panasonic PAW-FC2A-K007IR
32 pages
To Next Page IconTo Next Page
To Next Page IconTo Next Page
To Previous Page IconTo Previous Page
To Previous Page IconTo Previous Page
Loading...
10
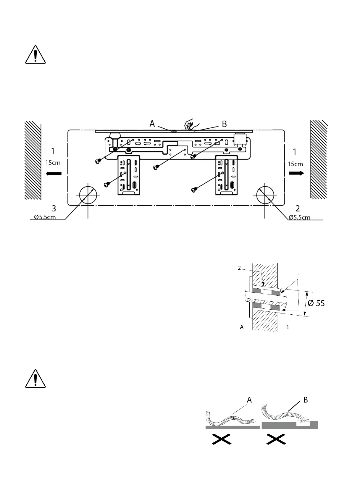
5.4 Rear panel installation
CAUTION: Always mount the rear panel horizontally.
Due to potential for two-way outlet water drainage design, the outlet of water tray should be adjusted slightly down during installation,
by is taking the outlet of the water tray as the centre of a circle, then including an angle between the coil and level should be 0 or
more, that is good for condensing water drainage.
Fix the rear panel on the wall with screws. Be sure that the rear panel has been fixed firmly enough to withstand the weight of an
adult of 60kg, furthermore, the weight should be evenly shared by each screw.
AMark on the middle of it
BBlock level
1Space to the wall (min.)
2Right (Rear piping hole)
3Left (Rear piping hole)
5.5 Install the piping hole
- Make the piping hole (Ø55) in the wall with a slight downward slant to the outdoor
side.
- Insert the piping-hole sleeve into the hole to prevent the connection piping from
being damaged when passing through the hole.
AIndoor side
BOutdoor side
1Seal pad
2Wall pipe
6. Hydraulic connections
6.1 Install the water drain pipe
CAUTION: For good draining, the drain hose should be placed at a downward slant.
A. Do not wrench or bend the drain hose or immerse the pipe end in
water.
B. Wrap the drain pipe with insulating material when the drainage
hose passed through an indoor location to prevent condensation.

Related product manuals