EasyManua.ls Logo

Panasonic PV-20DF25

Panasonic PV-20DF25
87 pages
To Next Page IconTo Next Page
To Next Page IconTo Next Page
To Previous Page IconTo Previous Page
To Previous Page IconTo Previous Page
Loading...
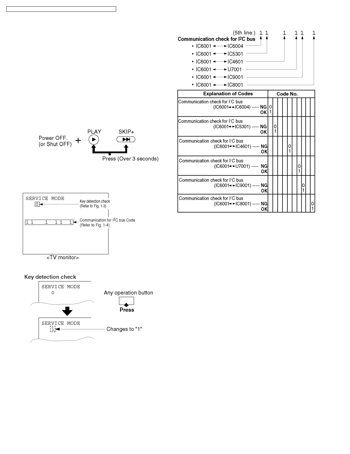
5.1. SERVICE NOTES
5.1.1. SIMPLIFIED FAULT FINDING DATA
Simplified Self-Diagnostic System facilitates finding the cause
of the fault. The Communication for I
2
C bus code will be
displayed on the TV screen.
The Simplified Fault finding data is stored in the Memory IC
(IC6004). This data is cleared after it is displayed, and then the
POWER button is pressed back on.
1. With power turned off, press PLAY and SKIP+ buttons on
the unit together for over 3 seconds.
Fig. 1-1
2. TV power comes on and the unit goes into service mode.
The Communication for I
2
C bus code will be displayed.
Fig. 1-2
Fig. 1-3
Note:
Press any operation button except for POWER or PLAY
buttons on either the unit, or DVD key on the remote to
detect that a key has been pressed. The 3rd digit
changes to "1" only when key is detected.
Fig. 1-4
5 SERVICE NOTES (PLEASE READ)
8
PV-20DF25 / PV-27DF25 / PV-27DF5 / PV-20DF25-K / PV-27DF25-K

Other manuals for Panasonic PV-20DF25

Related product manuals