EasyManua.ls Logo

Panasonic RF-2200BS - Dial Drive Assembly Parts

Panasonic RF-2200BS
15 pages
Print Icon
To Next Page IconTo Next Page
To Next Page IconTo Next Page
To Previous Page IconTo Previous Page
To Previous Page IconTo Previous Page
Loading...
MW
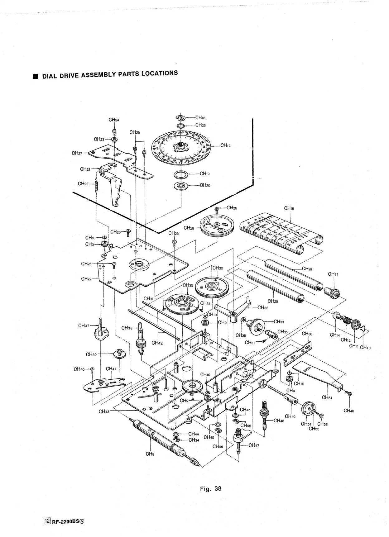
DIAL
DRIVE
ASSEMBLY
PARTS
LOCATIONS
|
CH2a
CHis
Fig.
38
RF-2200BS®