EasyManua.ls Logo

Panasonic S-28MK2E5A - Scelta del Luogo DI Installazione

Panasonic S-28MK2E5A
218 pages
To Next Page IconTo Next Page
To Next Page IconTo Next Page
To Previous Page IconTo Previous Page
To Previous Page IconTo Previous Page
Loading...
77
ITALIANO
1. INFORMAZIONI GENERALI
Questo manuale illustra brevemente dove e come installare
il condizionatore dell’aria. Prima d’iniziare si raccomanda di
leggere tutte le istruzioni per le unità interne e controllare
che tutti gli accessori elencati di seguito siano effettivamente
presenti.
1-1. Utensili necessari per l’installazione (non in
dotazione)
1. Cacciavite a testa piatta
2. Cacciavite a croce
3. Coltellino o pinza spelacavi
4. Misuratore a nastro
5. Livella da muratore
6. Sega lunga o sega a tazza
7. Seghetto
8. Punte da trapano
9. Martello
10. Trapano
11. Tagliatubi
12. Svasatubi
13. Chiave dinamometrica
14. Chiave inglese
15. Alesatore (per rimuovere le bavature)
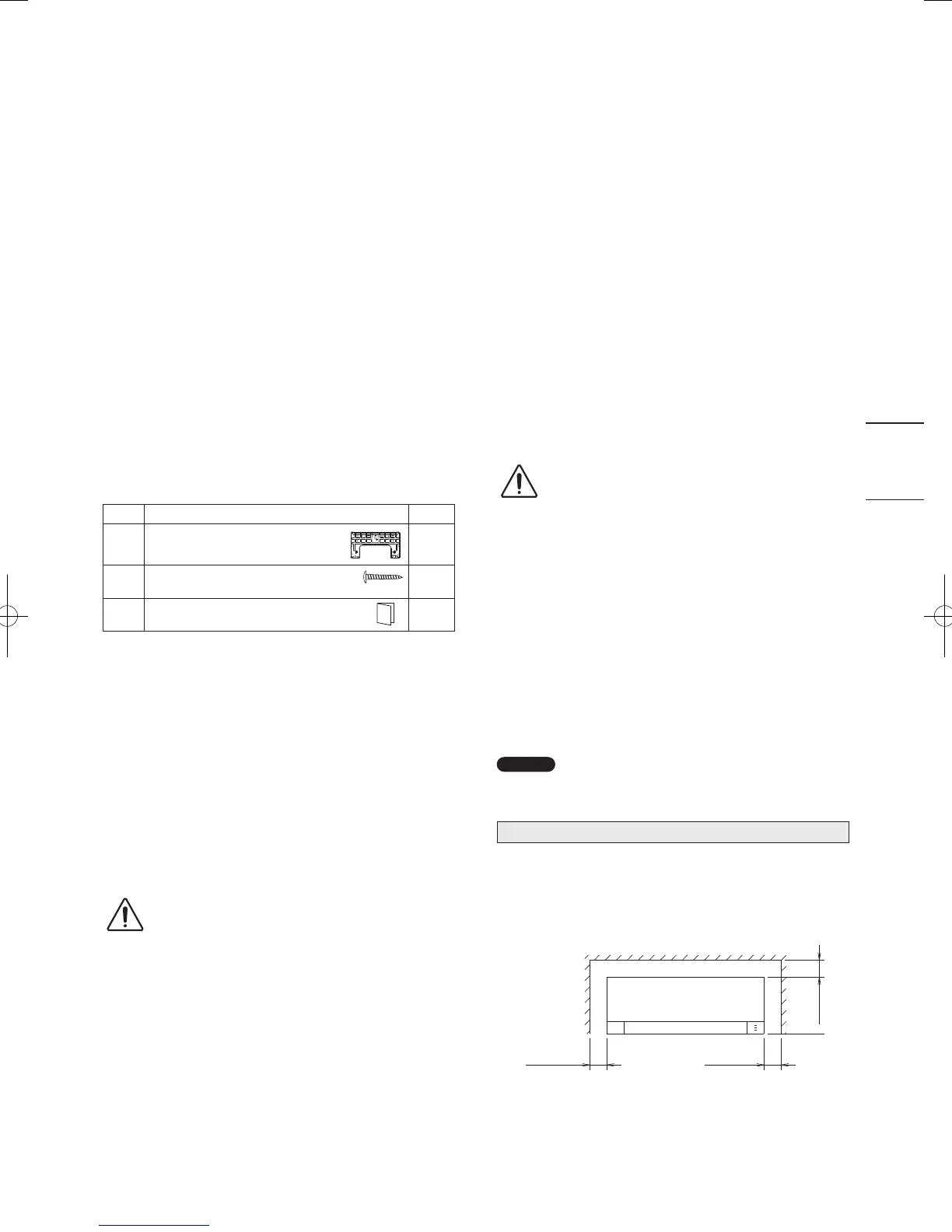
1-2. Accessori in dotazione all’unità
N. Accessori Q.tà
1
Piastra di installazione
1
2
Vitedifissaggiopiastradiinstallazione
5
3
Istruzioni di installazione
1
1-3. Tipo di tubi di rame e materiale isolante
Se si desidera acquistare i materiali a parte presso un
rivenditore locale, saranno necessario:
1. Tubo di rame ricotto disossidato per la tubazione del
refrigerante. Tagliare ciascun tubo secondo le lunghezze
appropriate da +30 cm a 40 cm per attutire le vibrazioni tra
unità.
2. Isolamento in polietilene espanso per tubi in rame della
lunghezza necessaria a coprire interamente le tubazioni.
Lo spessore dell’isolamento non deve essere inferiore a
8 mm.
3. Cavi in rame isolati per il cablaggio. Lo spessore dei cavi
varia a seconda della loro lunghezza totale.
Per informazioni dettagliate si prega di vedere la sezione
4. COLLEGAMENTI ELETTRICI.
ATTENZIONE
Prima di acquistare i cavi elettrici, verificarne la conformità
alle normative elettriche locali. Controllare inoltre eventuali
istruzioni o limiti specifici.
1-4. Materiali aggiuntivi per l’installazione
1. Nastro per refrigerazione (rinforzato)
2. Graffette o morsetti isolati per il collegamento dei cavi (in
conformità con le norme locali.)
3. Stucco
4. Lubrificante per tubazioni di refrigerante
5. Fascette o staffe per il fissaggio delle tubazioni del
refrigerante
6. Bilancia
2.
SCELTA DEL LUOGO DI INSTALLAZIONE
2-1. Unità interna
NON INSTALLARE:
punti eventualmente soggetti alla fuoriuscita di gas
infiammabile.
punti soggetti a grandi quantità di fumi d’olio.
l’esposizione diretta al sole.
punti vicini a sorgenti di calore che possano influenzare le
prestazioni dell’unità.
punti ove l’aria possa penetrare liberamente nel locale
dall’esterno. Questo potrebbe causare la formazione di
“condensa” sulle luci di emissione dell’aria, causando
gocciolamenti o perdite.
punti ove il telecomando possa essere colpito da spruzzi
d’acqua o influenzato dall’umidità.
l’installazione del telecomando dietro a tende o mobili.
punti in presenza di interferenze ad alta frequenza.
INSTALLARE:
scegliere un punto dal quale sia possibile raffreddare
uniformemente l’intero locale.
scegliere un punto ove il soffitto sia sufficientemente robusto
da sopportare il peso dell’unità.
AVVERTIMENTO
scegliere una posizione in grado di sostenere un carico pari
a quattro volte il peso dell'unità interna.
scegliere un punto ove i tubi del refrigerante e quello rigido di
scarico siano quanto più vicini possibile all’unità esterna.
lasciare spazio a sufficienza per l’uso e la manutenzione e
assicurarsi che il flusso d’aria attorno all’unità non trovi ostacoli.
installare l’unità interna entro la differenza di elevazione
massima sopra o sotto l’unità esterna ed entro la lunghezza
totale (L) dei tubi del refrigerante rispetto all’unità esterna
stessa secondo quanto riportato nelle istruzioni per
l’installazione fornite con quest’ultima.
lasciare spazio a sufficienza per l’installazione del
telecomando a circa 1m dal pavimento in un punto non
esposto direttamente al sole né esposto all’aria fredda
proveniente dall’unità interna.
NOTA
Se la distanza fra il pavimento e il soffitto è superiore a 3 m,
l'erogazione dell'aria peggiora.
Da muro
La presa e l'uscite dell'aria dell'unità interna devono essere
libere da ostruzioni per consentire la corretta diffusione dell'aria
nel locale.
1. Attorno all'unità interna ci deve essere lo spazio libero
necessario per consentire la manutenzione.
Almeno 100 Almeno 50
(Unità di misura: mm)
Almeno 65
Fig. 2-1
Vista frontale
Pana_F616380_All_L.indb 77 2013-12-11 17:38:59

Table of Contents

Other manuals for Panasonic S-28MK2E5A

Related product manuals