EasyManua.ls Logo

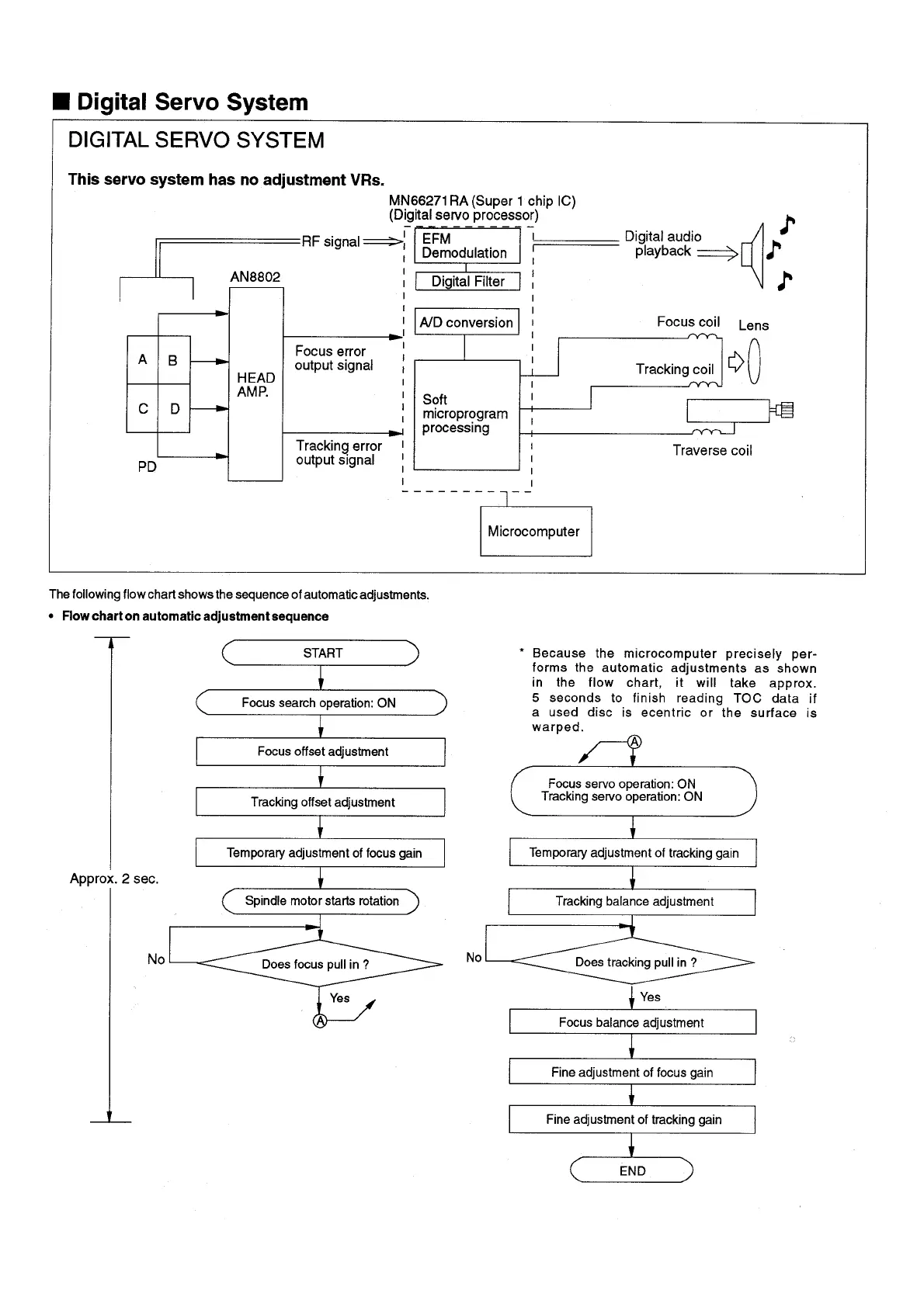
Panasonic SC-CH32 - Digital Servo System; Automatic Adjustment Sequence

Panasonic SC-CH32
59 pages
Print Icon
To Next Page IconTo Next Page
To Next Page IconTo Next Page
To Previous Page IconTo Previous Page
To Previous Page IconTo Previous Page
Loading...

Related product manuals