EasyManua.ls Logo

Panasonic TH-L42E3S - Power LED Blinking Chart; No Power Troubleshooting

Panasonic TH-L42E3S
84 pages
Print Icon
To Next Page IconTo Next Page
To Next Page IconTo Next Page
To Previous Page IconTo Previous Page
To Previous Page IconTo Previous Page
Loading...
TH-L42E3S
13
6.2. Power LED Blinking timing chart
1. Subject
Information of LED Flashing timing chart.
2. Contents
When an abnormality occurs, the protection circuit will operate and reset the unit to stand by mode. During this time, the
defective block can be identified by the number of blinking times of the Power LED on the front panel of the unit as follow:
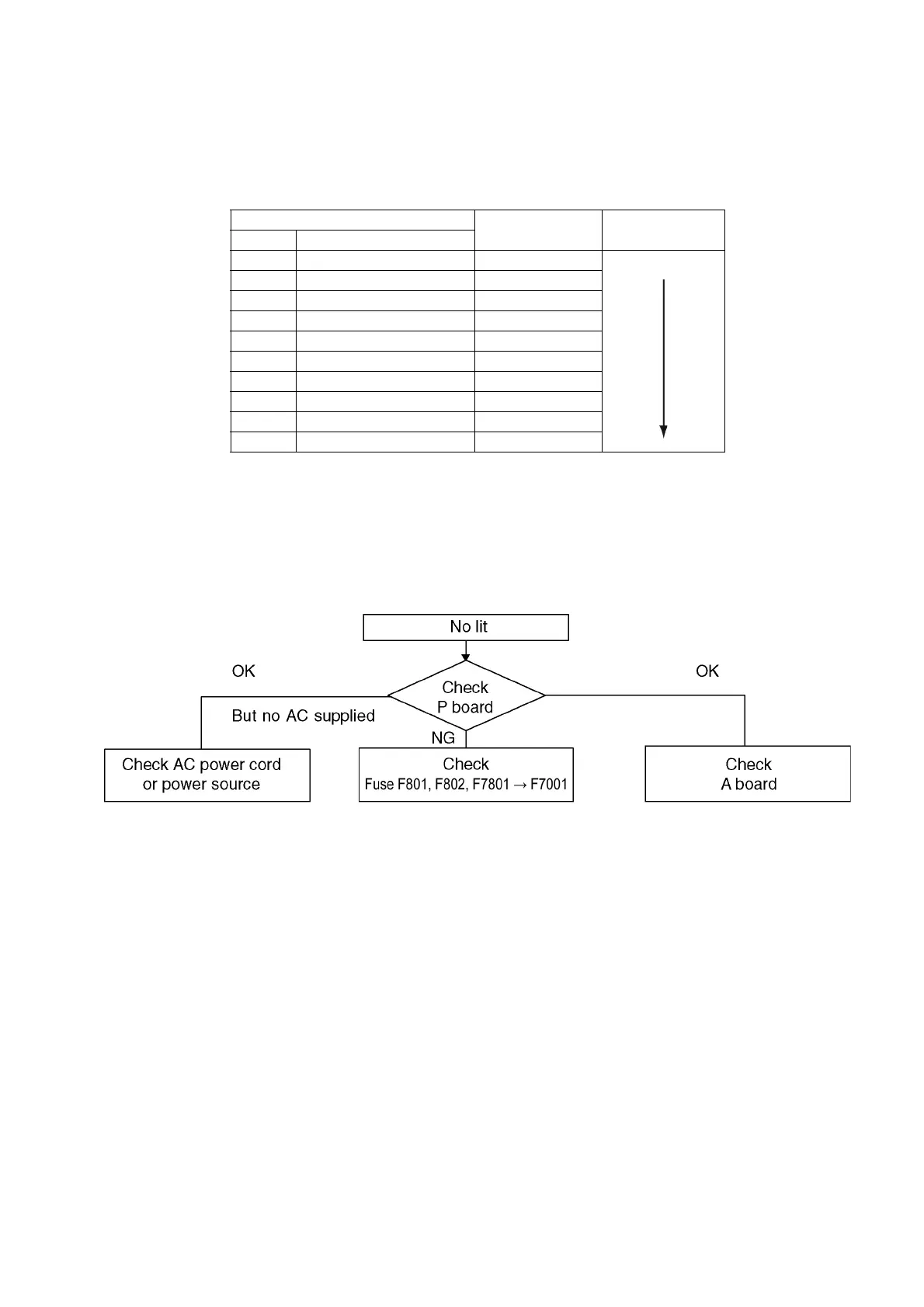
6.3. No Power
First check point
There are following 2 states of No Power indication by power LED.
1. No lit
2. Red is lit then turns red blinking a few seconds later. (See 6.2.)
LCD
Remark PCB NAME
Times SOS
1 BackLight_SOS A BOARD
2 FAN_SOS Peaks
3 SOS(Tuner_SOS) SUB3.3V/panel_15V
4 SUB12V_SENSE_SOS
7 SUB3.3V_SENSE_SOS
9 SOUND_SOS
10 ZWEI2_SOS detect of IIC
12 BackEnd(sLD)_SOS
13 EMERGENCY_SOS communication error
14 IROM_SOS Error of STM micon

Table of Contents

Related product manuals