EasyManua.ls Logo

Panasonic TH-P65ST50A - Page 28

Panasonic TH-P65ST50A
115 pages
Print Icon
To Next Page IconTo Next Page
To Next Page IconTo Next Page
To Previous Page IconTo Previous Page
To Previous Page IconTo Previous Page
Loading...
28
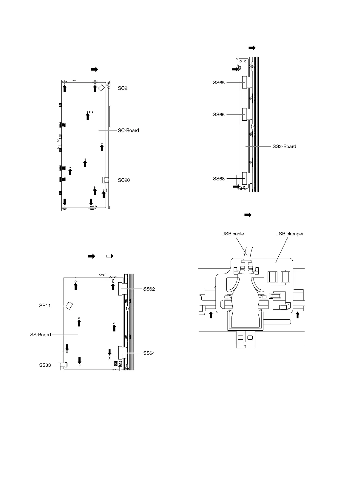
9.2.15. Remove the SC-Board
1. Unlock the cable clampers and the tapes to free the
cables.
2. Disconnect the connector (SC2).
3. Disconnect the flexible cable (SC20).
4. Remove the screws (×10 ) and remove the SC-Board.
9.2.16. Remove the SS-Board
1. Disconnect the connector (SS11).
2. Disconnect the flexible cable (SS33).
3. Disconnect the flexible cables (SS62 and SS64).
4. Remove the screws (×7 , ×2 ) and remove the SS-
Board.
9.2.17. Remove the SS2-Board
1. Disconnect the flexible cables (SS65, SS66 and SS68).
2. Remove the screws (×2 ) and remove the SS2-Board.
9.2.18. Remove the USB clamper
1. Remove the claws (×2 ) and remove the USB clamper.
2. Remove the USB cable from the USB clamper.