EasyManua.ls Logo

Panasonic TX-P46G30E - Watching TV; Display Information banner

Panasonic TX-P46G30E
104 pages
Print Icon
To Next Page IconTo Next Page
To Next Page IconTo Next Page
To Previous Page IconTo Previous Page
To Previous Page IconTo Previous Page
Loading...
Watching TV
19
Other useful functions
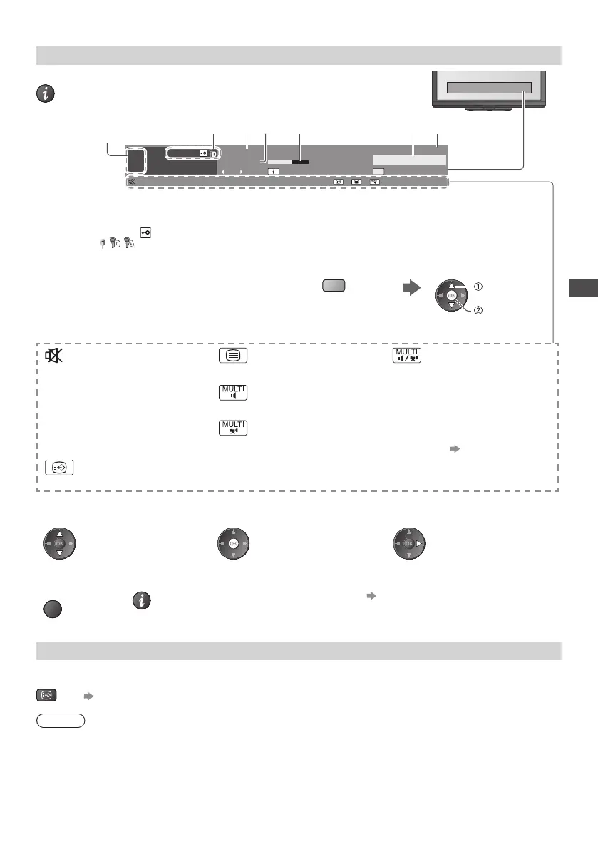
Display Information banner
Display Information banner
Also appears when changing a channel
1
ZDF
Coronation Street
HDTV
20:00 - 20:55
20:35
45
Now
All DVB-T Channels
C hange category I nfo
D olby D+ B ad signal
Example : DVB
1
2 3 6 7 4 5
1
C hannel position and name
2
C hannel type ([Radio], [Data], [HDTV], etc.) /
Encrypted channel ( ) /
TV mode ( , , )
3
Programme
4
Current time
5
Programme Start/Finish time (DVB)
C hannel number, etc. (Analogue)
6
Progress time indicator of the selected programme
(DVB)
7
C ategory
T o change the category (DVB)
(blue)
set
select
Features available / Message meanings
Sound mute On
T eletext service available
Multiple audio and video available
[Bad signal]
P oor TV signal quality
Multiple audio available
[Stereo], [Mono]
Audio mode
[Dolby D+], [Dolby D], [HE-AAC]
D olby Digital Plus, Dolby Digital or
HE-AAC audio track
Multiple video available
1 - 90
Off Timer remaining time
F or settings (p.20)
Subtitle service available
T o confirm another tuned channel
name
T o watch the channel listed in the
banner
I nformation on the next programme
(DVB)
T o hide
EXIT
Extra information (DVB)
(Press again to hide the banner)
T o set display timeout
[Banner Display Timeout] (p.37)
Display subtitles
Display / hide subtitles (if available)
STTL
T o change the language for DVB (if available)
[Preferred Subtitles] (p.36)
Note
If you press the STTL button in Analogue mode, it switches to teletext service and calls up a favourite page (p.25). Press the
EXIT button to return to TV mode.

Table of Contents

Related product manuals