EasyManua.ls Logo

Panasonic U-100PEY1E8 - Miscellaneous Settings

Panasonic U-100PEY1E8
739 pages
To Next Page IconTo Next Page
To Next Page IconTo Next Page
To Previous Page IconTo Previous Page
To Previous Page IconTo Previous Page
Loading...
8-12
8
Operation mode indicator, time display (24 hour, AM/PM), Heat Max Temp
(These settings are saved in nonvolatile memory in the remote control, so even when its batteries are changed,
the settings do not have to be made again.)
First check the display of the remote control when the unit is stopped and then make any desired settings.
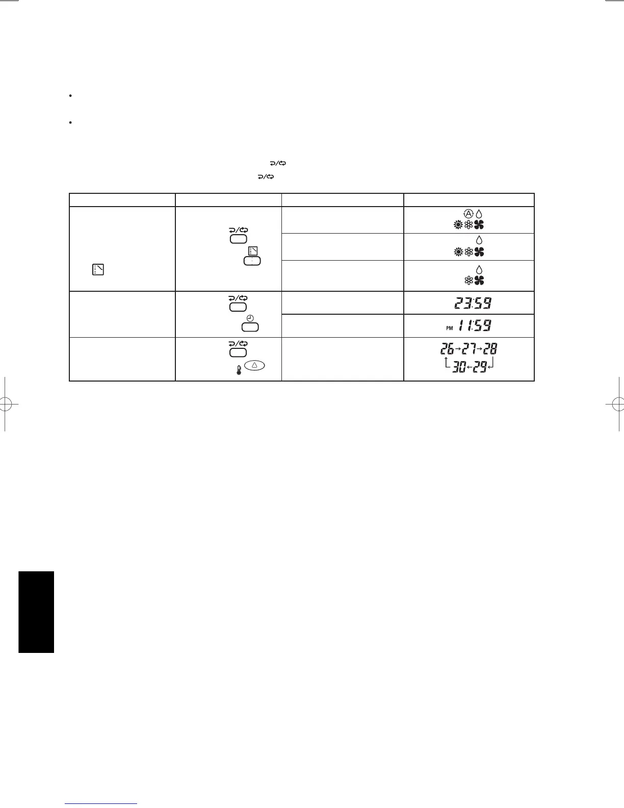
How to Operate
While holding down the buttons below, every time is pressed the remote control’s display changes.
Whatever is being displayed when you release is set.
Setting Item Operation Button Setting Content Remote Control Display
Remote control
operation mode
display setting when
is pressed
Press
while pressing
Heat Pump (with Auto)
Heat Pump (without Auto)
Dedicated air conditioner
Clock display setting
Press
while pressing
24-hour
AM/PM
Max possible temperature
setting in the Heat mode
Press
while pressing
Maximum heating temperature
range is 26 °C – 30 °C
A variety of changes can be made to settings, depending on the indoor unit being used.
8-12. Miscellaneous Settings
SM830211-07PAC-i.indb12SM830211-07PAC-i.indb12 2013/09/1723:03:342013/09/1723:03:34

Table of Contents

Other manuals for Panasonic U-100PEY1E8

Related product manuals