EasyManua.ls Logo

Panasonic WH-MDC05F3E5 - Page 2

Panasonic WH-MDC05F3E5
2 pages
Print Icon
To Previous Page IconTo Previous Page
To Previous Page IconTo Previous Page
Loading...
2
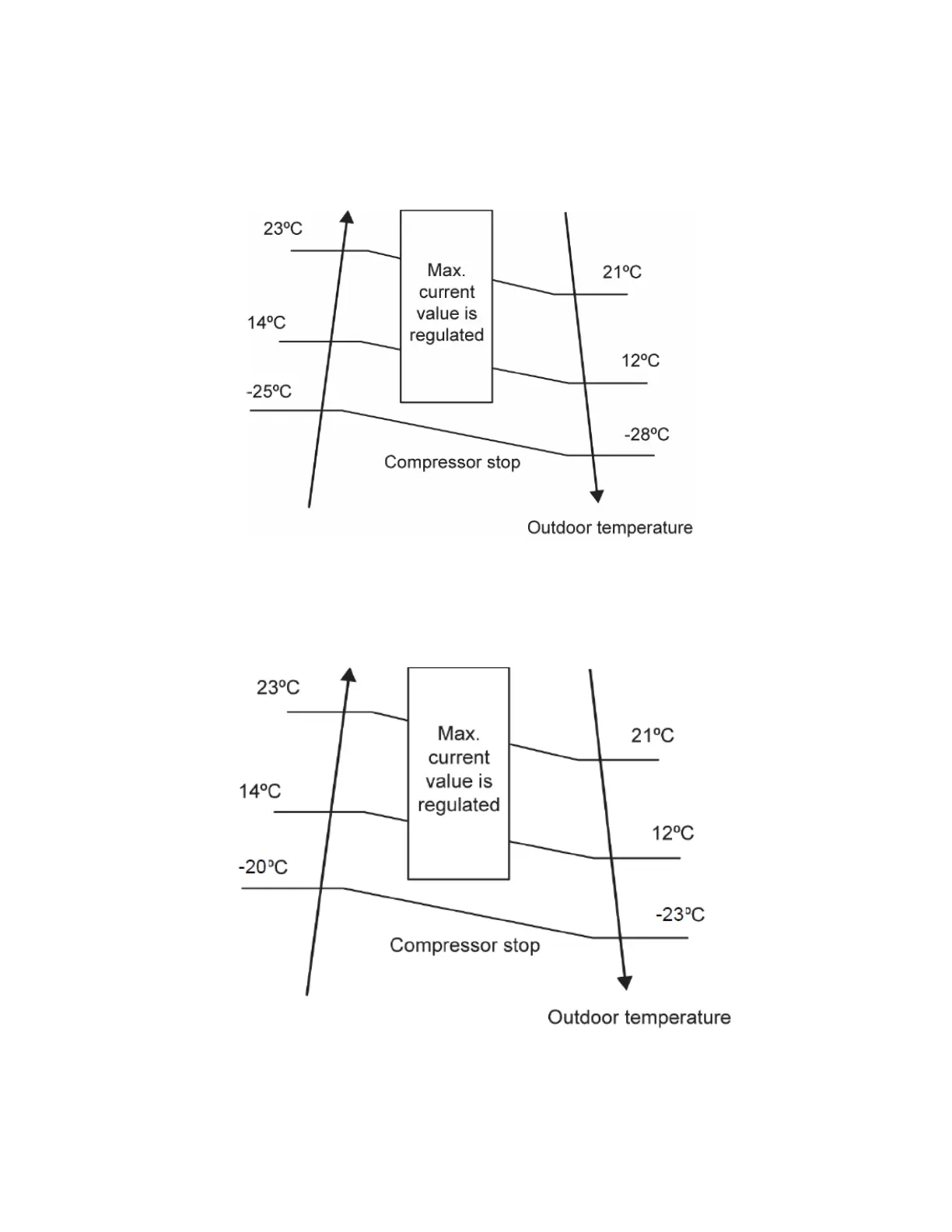
1. Protection Control
1.1 Outside Temperature Current Control
1.1.1 Old
1.1.2 New

Related product manuals