EasyManua.ls Logo

Patron E9 - Wiring Diagram

Patron E9
8 pages
Print Icon
To Next Page IconTo Next Page
To Next Page IconTo Next Page
To Previous Page IconTo Previous Page
To Previous Page IconTo Previous Page
Loading...
RENTQUIP USA INC. | 1-800-818-1199 | WWW.PATRONPRODUCTS.COM
E9 PRODUCT MANUAL
RENTQUIP USA INC. | 1-800-818-1199 | WWW.PATRONPRODUCTS.COM
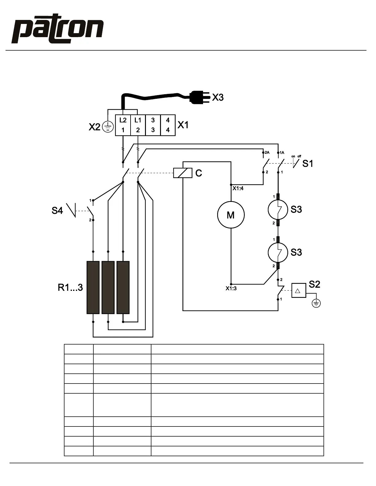
WIRING DIAGRAM
C 22670 Contactor
M 14201 Fan Motor
R1-R3 42800 Heating Element
S1 26902 Toggle Switch
S2 20220 Ambient Thermostat
S3 21200 Overheat Limit Switch
*Second S3 Switch added in 2020 from S/N 4008220-6852 onward
(40082W20-663 for white models)
S4 26900 Toggle Switch 6kW (Optional)
X1 36704 Terminal Block
X2 30346 Grounding Lug
X3 30100+34080 Power Cord & Plug
®
Käyttöohjekuva
Käyttöohjeen mukainen osanumerointi.
Numerointi ei vastaa valmistuskuvien numerointia.
5
16
3
17
4
1
11
2
13
8
15
21
22
14
24
7
23
10
9
12
6
20
25
18
19
26
Osanumerot ohisyötöllä!
t
6 kW 9 kW