EasyManua.ls Logo

Peavey PRO COMM U1002 - Part Names and Functions

Peavey PRO COMM U1002
36 pages
Print Icon
To Next Page IconTo Next Page
To Next Page IconTo Next Page
To Previous Page IconTo Previous Page
To Previous Page IconTo Previous Page
Loading...
9
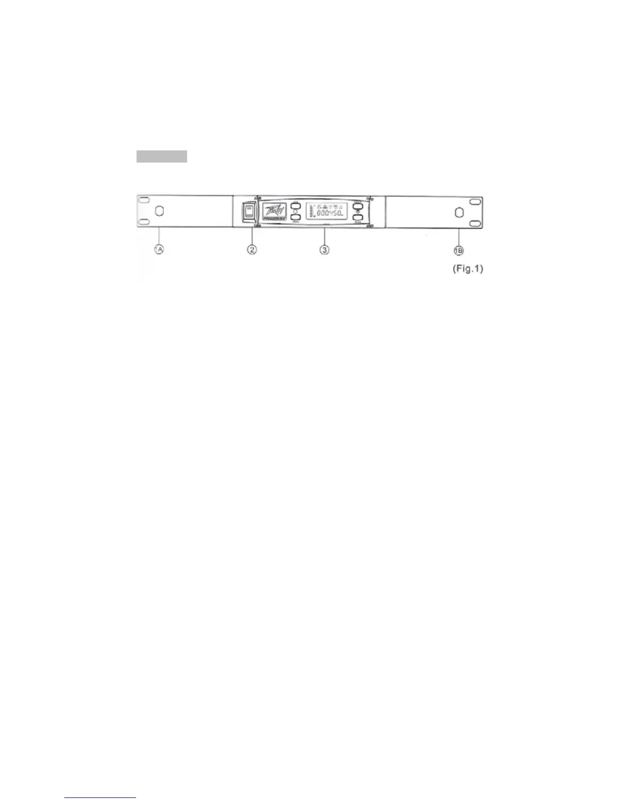
2. PART NAMES AND FUNCTIONS
Front Panel:
(1) Front Antenna Input Connectors (A and B): located on optional rack-mount
ears: Allows an optional rear-to-front Antenna kit for front antenna
placement on OPTIONAL rack-mount brackets.
(2) Power Switch and Indicator: When switch is turned on, the red indicator
illuminates, indicating normal power status.
(3) Receiver Panel: Color LCD Panel indicating adjustment controls and
operational status.