EasyManua.ls Logo

peerless-AV SA752P - Install Mount on Wood Stud Wall; Mount Wall Plate to Wood Stud

peerless-AV SA752P
34 pages
Print Icon
To Next Page IconTo Next Page
To Next Page IconTo Next Page
To Previous Page IconTo Previous Page
To Previous Page IconTo Previous Page
Loading...
4 of 34
ISSUED: 03-26-10 SHEET #: 095-9345-5 11-02-11
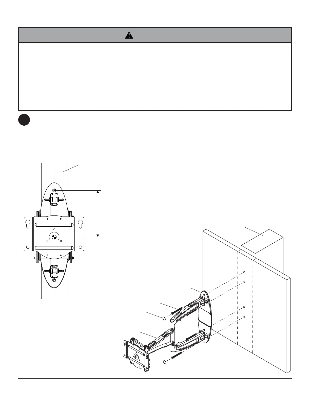
Using a stud fi nder, locate and mark the edges of the wood stud. Use a level to draw a vertical line down the center
of the stud and mark the desired display center. Use wall plate template (wall arm) to mark center of holes along
the vertical line. The top mounting hole should be 7.54" (192mm) above the desired display center as shown in
gure 1.1. Drill four 5/32" (4mm) dia. holes to a depth of 2.5" (64mm). Attach wall arm (A) to wall with four wood
screws (C) using #3 phillips screwdriver bit (L) as shown in fi g. 1.2. Level then tighten all fasteners.
Insert four fastener caps (F) into wall plate mounting holes.
Installation to Single Wood Stud Wall
1
Installer must verify that the supporting surface will safely support the combined load of the equipment and all
attached hardware and components.
Tighten wood screws so that wall plate is fi rmly attached, but do not overtighten. Overtightening can damage the
screws, greatly reducing their holding power.
Never tighten in excess of 80 in. • lb (9 N.M.).
Make sure that mounting screws are anchored into the center of the stud. The use of an "edge to edge" stud fi nder
is highly recommended.
Hardware provided is for attachment of mount through standard thickness drywall or plaster into wood studs.
Installers are responsible to provide hardware for other types of mounting situations (not evaluated by UL).
C
F
A
WOOD STUD
WALL PLATE
g. 1.2
WARNING
7.54"
(192mm)
DC = DISPLAY CENTER
WOOD STUD
DC
g. 1.1

Related product manuals