EasyManua.ls Logo

peerless-AV SUF661 - Page 18

peerless-AV SUF661
29 pages
Print Icon
To Next Page IconTo Next Page
To Next Page IconTo Next Page
To Previous Page IconTo Previous Page
To Previous Page IconTo Previous Page
Loading...
Español
18 de 29
PUBLICADO: 04-01-11 HOJA #: 203-9029-2 07-27-11
© 2011, Peerless Industries, Inc. Todos los derechos reservados.
Cualesquiera otras marcas y nombres de productos son marcas comerciales o registradas de sus respectivos dueños.
Peerless Industries, Inc.
2300 White Oak Circle
Aurora, Il 60502
www.peerlessmounts.com
R
B
R
S
B
PANTALLA
A
A
PANTALLA
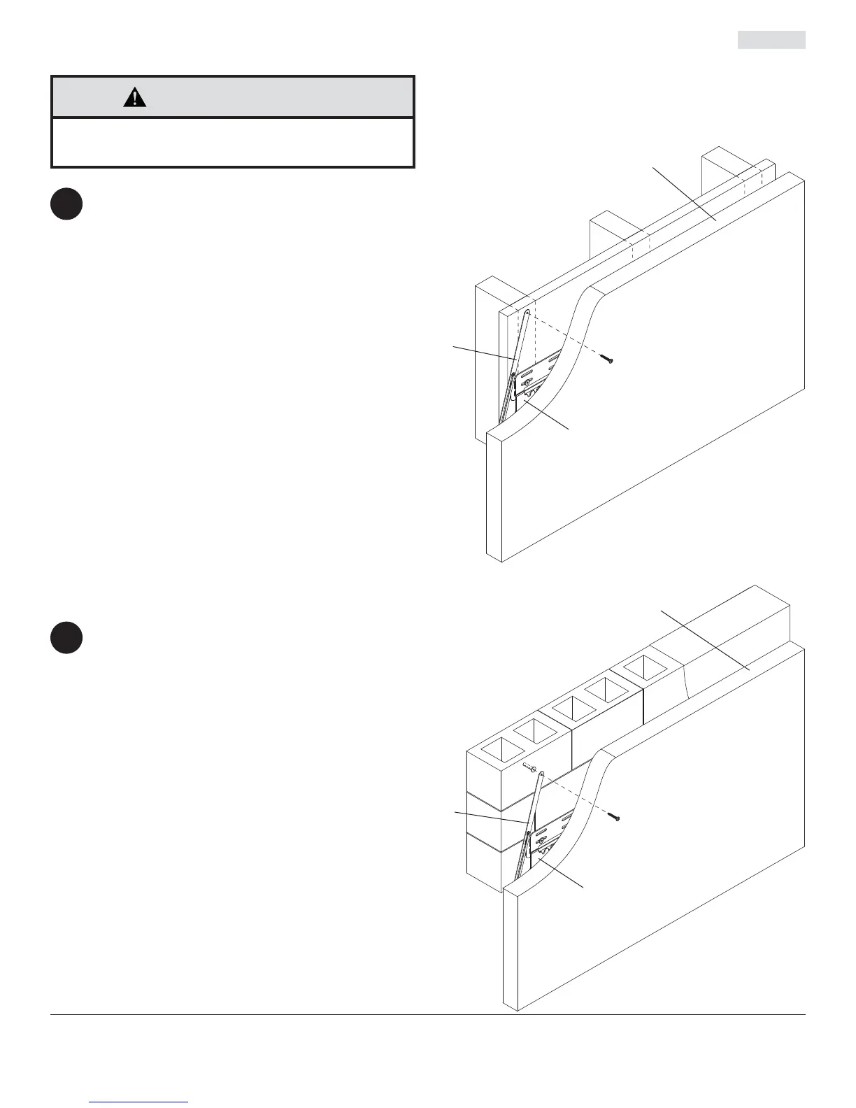
OPCIONAL: Fijar el brazo fi jador
MONTANTE DE MADERA: Ajuste el brazo fi jador
(B) hasta que se alinee con el montante de
madera y fíjelo con un tornillo de seguridad para
madera de 10 x 1-1/2" (R). Si el el brazo fi jador
es difícil de ajustar, girar el brazo para afl ojar las
articulaciones.
CONCRETO O BLOQUE DE HORMIGÓN DE
ESCORIAS: Ajuste el brazo fi jador (B) en la
posición deseada, marque el centro del agujero
de montaje y taladre un agujero de 1/4" (6mm)
de diámetro a una profundidad mínima de 2".
Inserte el anclaje alligator (S) en el agujero y fi je el
brazo jador (B) con un tornillo de seguridad para
madera de 10 x 1-1/2" (R). Si el el brazo fi jador
es difícil de ajustar, girar el brazo para afl ojar las
articulaciones.
4
4
Tenga cuidado de no pincharse los dedos cuando
jar el brazo fi jador (B).
PRECAUCIÓN

Related product manuals