EasyManua.ls Logo

peerless-AV SUF661 - Page 27

peerless-AV SUF661
29 pages
Print Icon
To Next Page IconTo Next Page
To Next Page IconTo Next Page
To Previous Page IconTo Previous Page
To Previous Page IconTo Previous Page
Loading...
Français
27 sur 29
PUBLIÉ LE : 04-01-11 FEUILLE n
o
: 203-9029-2 07-27-11
© 2011, Peerless Industries, Inc. Tous droits réservés.
Tous les autres noms de marques et de produits sont des marques de commerce ou déposées de leurs propriétaires respectifs.
Peerless Industries, Inc.
2300 White Oak Circle
Aurora, Il 60502
www.peerlessmounts.com
R
B
R
S
B
A
A
ÉCRAN
ÉCRAN
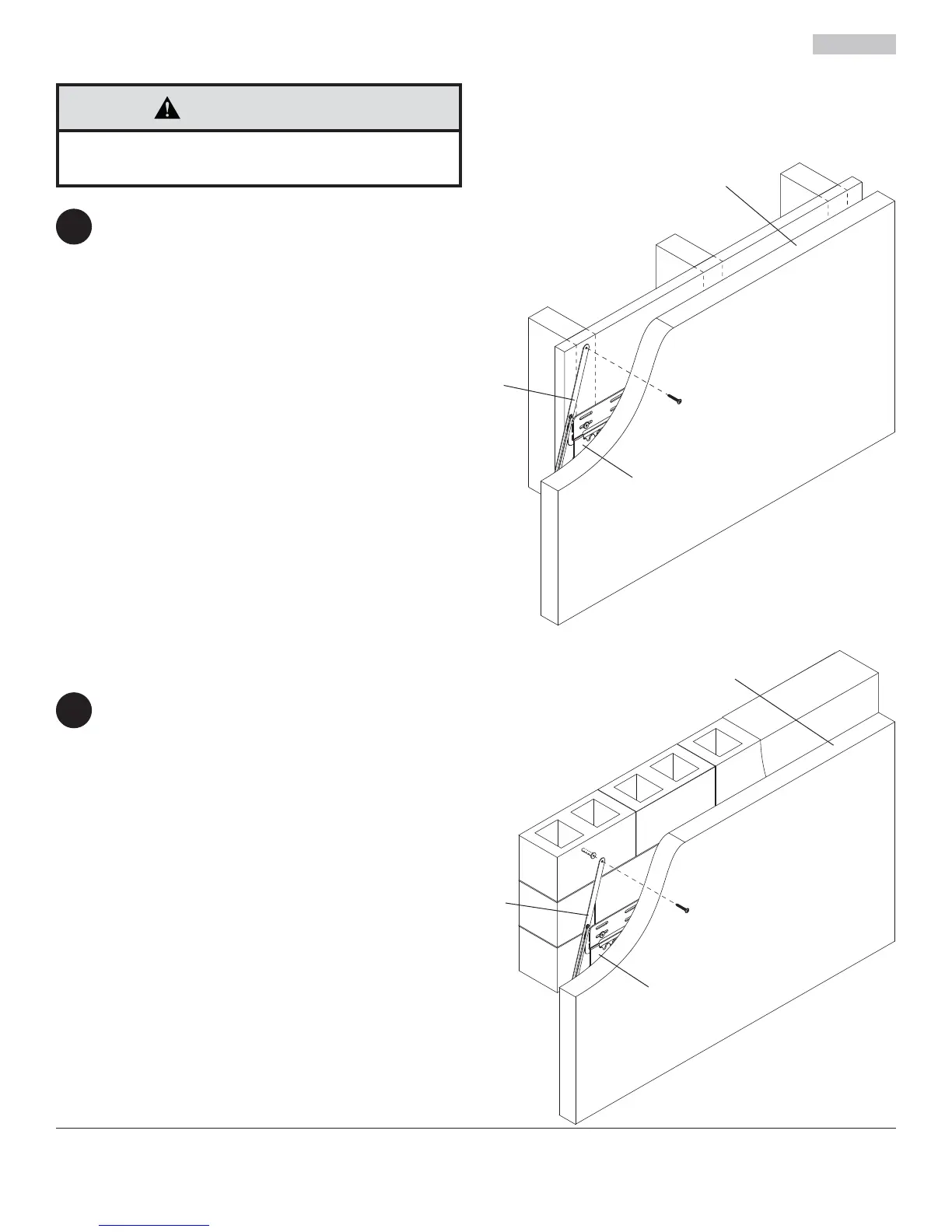
FACULTATIF : Fixation du bras de verrouillage
BÉTON/BLOC DE BÉTON : Réglez le bras
de verrouillage (B) dans la position souhaitée,
marquez le centre du trou de fi xation et percez
un trou de 1/4 po (6mm) de dia. à une profondeur
minimale de 2 po. Insérez l’ancrage alligator (S)
dans le trou et fi xez le bras de verrouillage (B) à
l’aide d'une vis à bois de sécurité no 10 x 1-1/2 po
(R). Si le bras de verrouillage est diffi cile à régler,
le spin du bras pour desserrer commune.
MONTANT EN BOIS : Réglez le bras de
verrouillage (B) jusqu’à ce qu’il soit aligné avec
le montant en bois et fi xez-le à l’aide d'une vis à
bois de sécurité no 10 x 1-1/2 po (R). Si le bras
de verrouillage est diffi cile à régler, le spin du bras
pour desserrer commune.
Prenez garde à ne pas vous pincer les doigts en le
xation du bras de verrouillage (B).
ATTENTION
4
4

Related product manuals