EasyManua.ls Logo

peerless-AV SUF661 - Page 9

peerless-AV SUF661
29 pages
Print Icon
To Next Page IconTo Next Page
To Next Page IconTo Next Page
To Previous Page IconTo Previous Page
To Previous Page IconTo Previous Page
Loading...
9 of 29
ISSUED: 04-01-11 SHEET #: 203-9029-2 07-27-11
© 2011, Peerless Industries, Inc. All rights reserved.
All other brand and product names are trademarks or registered trademarks of their respective owners.
Peerless Industries, Inc.
2300 White Oak Circle
Aurora, Il 60502
www.peerlessmounts.com
R
B
R
S
B
DISPLAY
DISPLAY
A
A
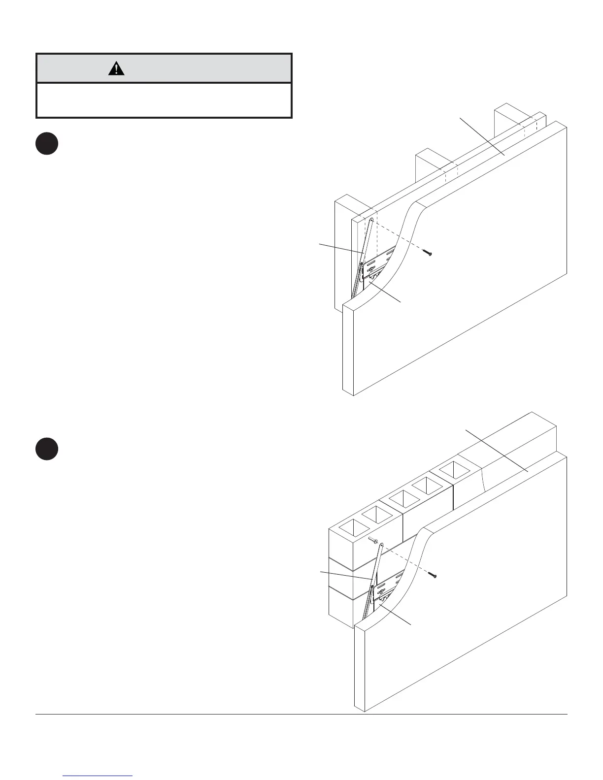
OPTIONAL: Securing Locking Arm
WOOD STUD: Adjust locking arm (B) until it aligns
to wood stud and secure using one #10 x 1-1/2"
security wood screw (R). If locking arm is diffi cult
to adjust, spin arm to loosen joint.
CONCRETE/CINDER BLOCK: Adjust locking arm
(B) to desired position, mark center of mounting
hole, and drill one 1/4" (6mm) dia. hole to a
minimum depth of 2". Insert alligator anchor (S)
into hole and secure locking arm (B) with one #10
x 1-1/2" security wood screw (R). If locking arm is
diffi cult to adjust, spin arm to loosen joint.
4
4
Be careful not to pinch fi ngers when adjusting
locking arm (B).
CAUTION

Related product manuals