EasyManua.ls Logo

PEERLESS Series MI - C. VENT PIPING AND CHIMNEY

PEERLESS Series MI
44 pages
Print Icon
To Next Page IconTo Next Page
To Next Page IconTo Next Page
To Previous Page IconTo Previous Page
To Previous Page IconTo Previous Page
Loading...
12
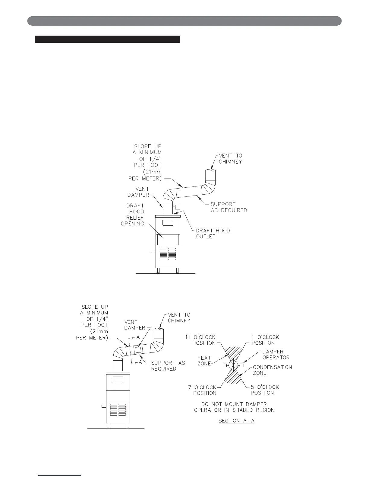
Figure 4.2: Venting with Vent Damper in Vertical Position
Figure 4.3: Venting with Vent Damper in Horizontal Position
C. VENT PIPING AND CHIMNEY
1. Install vent piping in accordance with Venting of
Equipment part of the National Fuel Gas Code, ANSI
Z223.1/NFPA 54, sections 7.2, 7.3 or 7.4 of
CAN/CSA B149.1, Natural Gas and Propane
Installation Code, or applicable provisions of the
local building codes.
2. Inspect the existing chimney and lining for structural
soundness, corrosion and perforations. Repair as
necessary.
3. Install vent pipe to slope upward at least 1/4” per
lineal foot (21 mm per meter) between the draft
hood outlet and the chimney.
4. Before connection of joints, inspect the vent pipe
interior for foreign objects such as tools, equipment,
rags, etc. and remove if present.
5. Insert vent pipe into but not beyond the inside wall
of the chimney flue.
6. Do not connect vent connectors serving appliances
vented by natural draft into any portion of
mechanical draft systems operating under positive
pressure.
7. Support horizontal portions of the venting system to
prevent sagging by use of metal strapping or
equivalent means. Locate supports at no more than
4 foot (1.2 meter) intervals.
VENTING

Related product manuals