EasyManua.ls Logo

Pelgrim MAC824RVS - Information on the Appliance - Data Plate

Pelgrim MAC824RVS
36 pages
Print Icon
To Next Page IconTo Next Page
To Next Page IconTo Next Page
To Previous Page IconTo Previous Page
To Previous Page IconTo Previous Page
Loading...
10
712325
INFORMATION ON THE APPLIANCE - DATA
PLATE (DEPENDING ON THE MODEL)
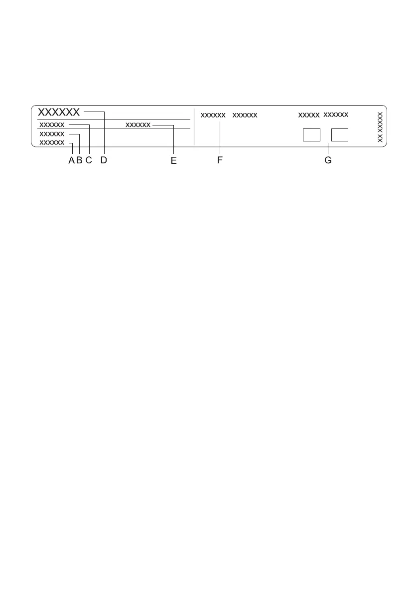
The rating plate indicating the basic
information about the appliance is located
at the edge of the oven and it is visible
when the oven door is opened.
A Serial number
B Code
C Type
D Brand
E Model
F Technical data
G Compliance symbols

Related product manuals