EasyManua.ls Logo

Pelican WF6 - Installation Overview Diagram

Pelican WF6
30 pages
Print Icon
To Next Page IconTo Next Page
To Next Page IconTo Next Page
To Previous Page IconTo Previous Page
To Previous Page IconTo Previous Page
Loading...
Page
7
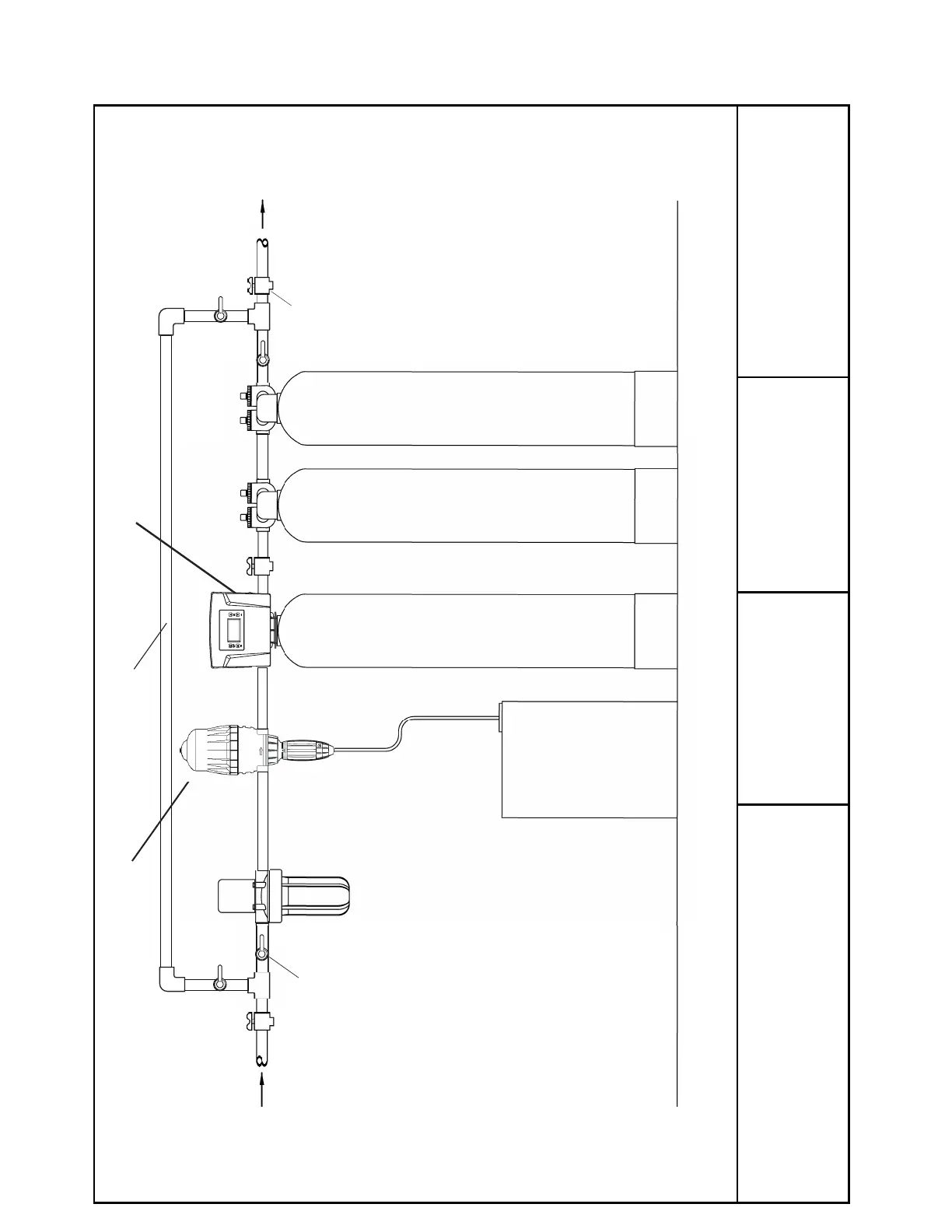
Installa
tion Overview Diagram
P
Pelican
Water Systems
  
 
  

5

DO NOT SCALE DRAWING





CONNECTION SIZE: 1"
MAX PRESSURE OPERATING: 80 PSI
MAX TEMPERATURE: 120
°
INSTALLATION OVERVIEW
WF 6/10
**BACKWASH LINE TO BE PLUMBED TO A DRAIN
SHUT OFF VALVES
INJECTION PUMP
**
0
0
0
0
SEDIMENT FILTER
IRON
MANGANESE
FILTER
WATER
FILTER
BYPASS
SOLUTION
TANK
MENU
SET
HOSE SPIGOTS
NATURSOFT
Rev T

Related product manuals