EasyManua.ls Logo

Pentair HIGH POWER WIRELESS LINK KIT - Page 11

Pentair HIGH POWER WIRELESS LINK KIT
16 pages
Print Icon
To Next Page IconTo Next Page
To Next Page IconTo Next Page
To Previous Page IconTo Previous Page
To Previous Page IconTo Previous Page
Loading...
High Power Wireless Link Kit Installation Guide
10
11
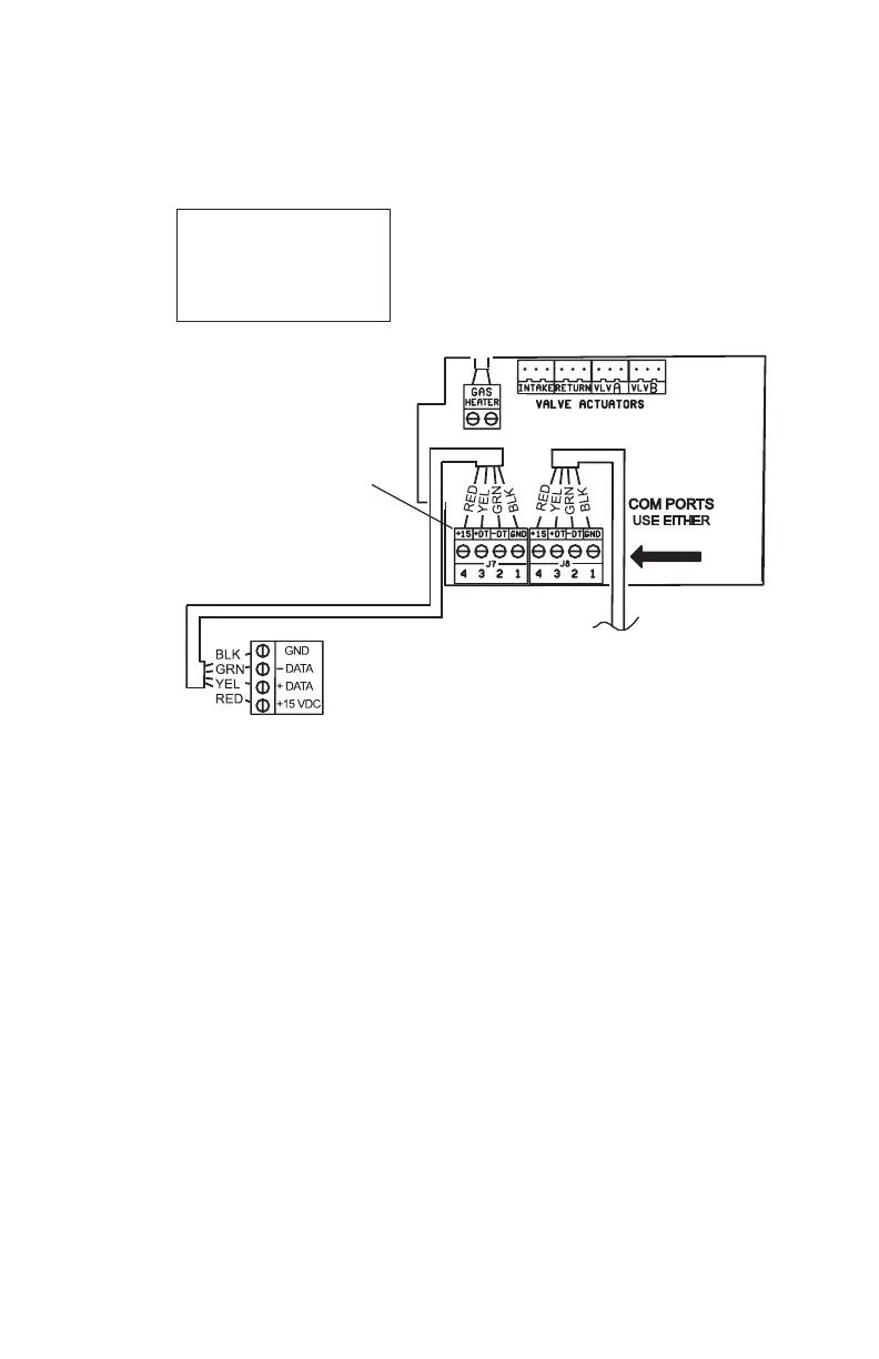
6. Strip the leads of the communication cable wires back ¼ in. Insert
the wires into the connector screw terminals. Using a small flat-
blade screwdriver, secure the wires with the COM PORT (J7/J8)
terminal screws. Note: Multiple wires may be inserted into a single
screw terminal. Be sure to match the color-coding of the wires:
Pin 4 - Red = +15 VDC
Pin 3 - Yellow = +DT
Pin 2 - Green = -DT
Pin 1 - Black = GND
IntelliTouch
®
(J7/J8) or
EasyTouch
®
Control
System COM Ports
(J20) screw terminal
connector
Note: Multiple wires may be
inserted into a single screw
COM PORT terminal. However,
this can cause an intermittent
connection. Note: For additional
COM ports, an optional Serial
COM Port Expansion Board (P/N
520818) can be installed in the
low voltage compartment.
7. After the communication cable connection has been completed;
close the Outdoor Control Panel and tighten the two retaining
screws. Reinstall the High Voltage Panel: Insert the panel’s three
tabs into the lower slots on the enclosure. Secure the panel with the
two (2) retaining screws. Close the front door and secure it with the
latch.
8. Switch ON AC power to the Load Center.
9. After the Power Center is powered up the HPW Link outdoor
transceiver will automatically synchronize with the system and will
be ready for operation. Note: The initial connection can take up
to 2-3 minutes.