EasyManua.ls Logo

Philips 32PFL3506/F7 - Page 44

Philips 32PFL3506/F7
89 pages
Print Icon
To Next Page IconTo Next Page
To Next Page IconTo Next Page
To Previous Page IconTo Previous Page
To Previous Page IconTo Previous Page
Loading...
9-10
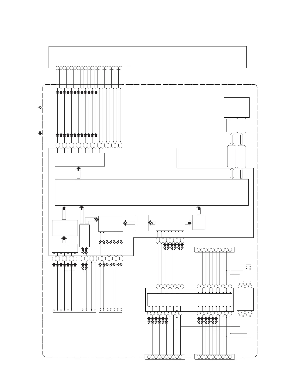
4. Digital Signal Process Block Diagram
DIGITAL MAIN CBA UNIT
IC3005 (DIGITAL SIGNAL PROCESS)
IC3018 (HDMI SW)
IC3011 (EEPROM)
CN3005
LLV1(+)21
LLV1(-)20
LLV0(+)23
LLV0(-)22
LLV2(+)19
LLV2(-)18
LLV3(+)13
LLV3(-)12
LLV4(+)11
LLV4(-)10
LLV5(+)9
LLV5(-)8
LLVCLK(+)16
LLVCLK(-)15
TP6
POL5
CPV4
OE13
STV1
P14
P13
N16
N15
P16
P15
T16
R14
R13
T13
T14
T15
R16
R15
L13
M15
L16
L15
M14
B4
A4
B3
A3
B2
A2
B1
A1
LVDS TX
DIGITAL
SIGNAL
PROCESS
A/D
CONVERTER
S-VIDEO-Y-IN
SW
D8
B11
C9
S-VIDEO-C-IN
A10
C10
VIDEO-IN
C8
COM-VIDEO-Pr-IN
COM-VIDEO-Pb-IN
COM-VIDEO-Y-IN
B9
IF-AGC
HDMI-IN1
HDMI-IN2
SCL
SDA
JK3003
TMDS-D0(+)
TMDS-D0(-)
TMDS-D1(+)
TMDS-D1(-)
TMDS-D2(+)
TMDS-D2(-)
HDMI-DATA
HDMI-CLOCK
7 42
41
45
44
48
47
39
38
36
37
26
27
23
24
20
21
17
18
57
56
60
59
63
62
54
53
51
52
2
3
7
6
15
14
10
11
9
4
6
1
3
10
12
16
15
7
9
4
6
1
3
10
12
16
15
JK3004
TMDS-D0(+)
TMDS-D0(-)
TMDS-D1(+)
TMDS-D1(-)
TMDS-D2(+)
TMDS-D2(-)
TMDS-CLOCK(+)
TMDS-CLOCK(-)
HDMI-DATA
SDA1
HDMI-CLOCK
SCL1
SDA2
SCL2
SDA3
SCL3
SDA0
SCL0
HDMI-IN3
7
9
4
6
1
3
10
12
16
15
JK3002
TMDS-D0(+)
TMDS-D0(-)
TMDS-D1(+)
TMDS-D1(-)
TMDS-D2(+)
TMDS-D2(-)
TMDS-CLOCK(+)
TMDS-CLOCK(-)
HDMI-DATA
HDMI-CLOCK
TMDS-CLOCK(+)
TMDS-CLOCK(-)
DEMODULATOR
/MPEG DECODER
A12
A16
AUDIO I/F
TO AUDIO
BLOCK DIAGRAM
AMP
(R)-OUT
AMP(L)-OUT
SPDIF
A7
N10
B7
DATA(0-15)
ADDRESS(0-12)
IC3002
N4,N7,N8,P3,P4,P6-P8,
R3,R4,R6,R8,T2-T5
H1,H2,J1,J2,J4,K1,K3,
L1,L2,M1-M3,N1
B1,B9,C2,C8,
D1,D3,D7,D9,
F1,F9,G2,G8,
H1,H3,H7,H9
M2,M3,M7,M8,
N2,N3,N7,N8,
P2,P3,P7,P8,R2
(DDR2 SDRAM)
HDMI
SW
AUDIO
DECODER
HDMI
I/F
DIF-OUT1
DIF-OUT2
IF-AGC
TO VIDEO
BLOCK DIAGRAM
VIDEO
DECODER
B12
S-VIDEO-SW
N12
S-VIDEO-SW
B8
AUDIO(R)
A8
AUDIO(L)
AUDIO(R)-OUT
AUDIO(L)-OUT
A6
B6
VIDEO SIGNAL
AUDIO SIGNAL
TP
POL
CPV
OE
STV
LCD MODULE
ASSEMBLY
8
7
11
10
14
13
5
4
1
2
TO SYSTEM
CONTROL
BLOCK DIAGRAM
PL11.0BBLD

Table of Contents

Other manuals for Philips 32PFL3506/F7

Related product manuals