EasyManua.ls Logo

Philips Amara View - Page 44

Philips Amara View
72 pages
Print Icon
To Next Page IconTo Next Page
To Next Page IconTo Next Page
To Previous Page IconTo Previous Page
To Previous Page IconTo Previous Page
Loading...
42
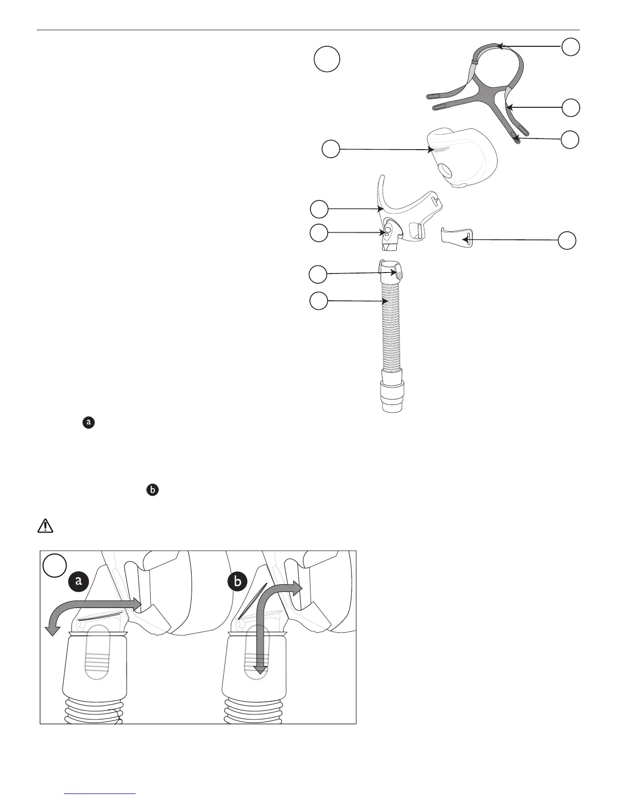
Figura a
AAlmohadillado para mascarilla con
conector espiratorio (No bloquear)
BArmazón de la mascarilla
CCodo con válvula antiasfixia (No
bloquear)
DLengüetas de liberación rápida
ETubo de liberación rápida con
conector giratorio
FCorrea de la coronilla del arnés
GCorrea superior del arnés
HCorrea inferior del arnés
IPresilla del arnés
Comprobación de la válvula
antiasfixia
La válvula antiasfixia consiste en una
entrada de aire y una aleta b. Con
el flujo de aire apagado, asegúrese
de que el codo con la aleta es
plano de manera que el aire
ambiente pueda fluir hacia dentro y hacia fuera a través de la entrada de aire.
A continuación, conecte el flujo de aire y compruebe que la aleta cubra la
entrada de aire y que el aire del dispositivo binivel o CPAP fluya hacia el interior
de la mascarilla . Si la aleta no se cierra o no funciona correctamente, cambie
la mascarilla.
Advertencia: No obstruya ni selle la válvula antiasfixia.
A
C
F
G
H
I
1
B
D
E
2

Related product manuals