EasyManua.ls Logo

Philips Amara View - Page 54

Philips Amara View
72 pages
Print Icon
To Next Page IconTo Next Page
To Next Page IconTo Next Page
To Previous Page IconTo Previous Page
To Previous Page IconTo Previous Page
Loading...
52
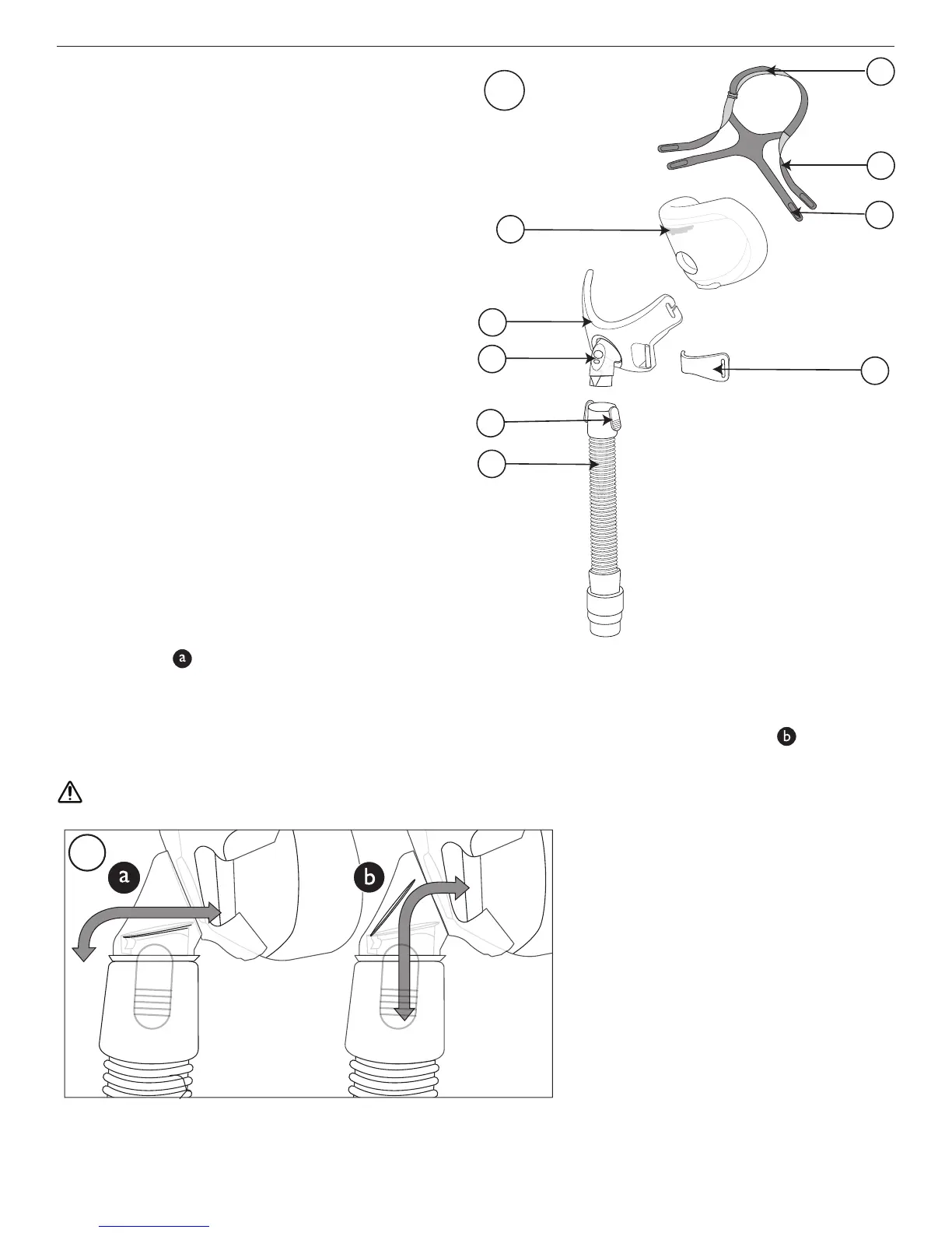
Figura a
AAlmofadado da máscara com portas
de exalação (não bloqueie)
BEstrutura da máscara
CCotovelo com válvula antiasfixia (não
bloqueie)
DLinguetas de liberação rápida
ETubo de liberação rápida com peça
giratória
FFaixa de cabeça do fixador de
cabeça
GFaixa superior do fixador de cabeça
HFaixa inferior do fixador de caba
IClipe do fixador de cabeça
Verifique a válvula antiasfixia
A válvula antiasfixia consiste de uma
entrada de ar e uma tampa b. Com
o fluxo de ar desligado, verifique se
o ângulo da tampa está na posição
horizontal de maneira a permitir
que o ar flua para dentro e para fora através da entrada de ar. Em seguida,
com o fluxo de ar ligado, a tampa agora deve cobrir a entrada de ar, e o ar do
dispositivo CPAP ou de nível duplo deve fluir para dentro da máscara . Se a
tampa não fechar ou não funcionar adequadamente, substitua a máscara.
Advertência: Não bloqueie ou vede a válvula antiasfixia.
A
C
F
G
H
I
1
B
D
E
2

Related product manuals