EasyManua.ls Logo

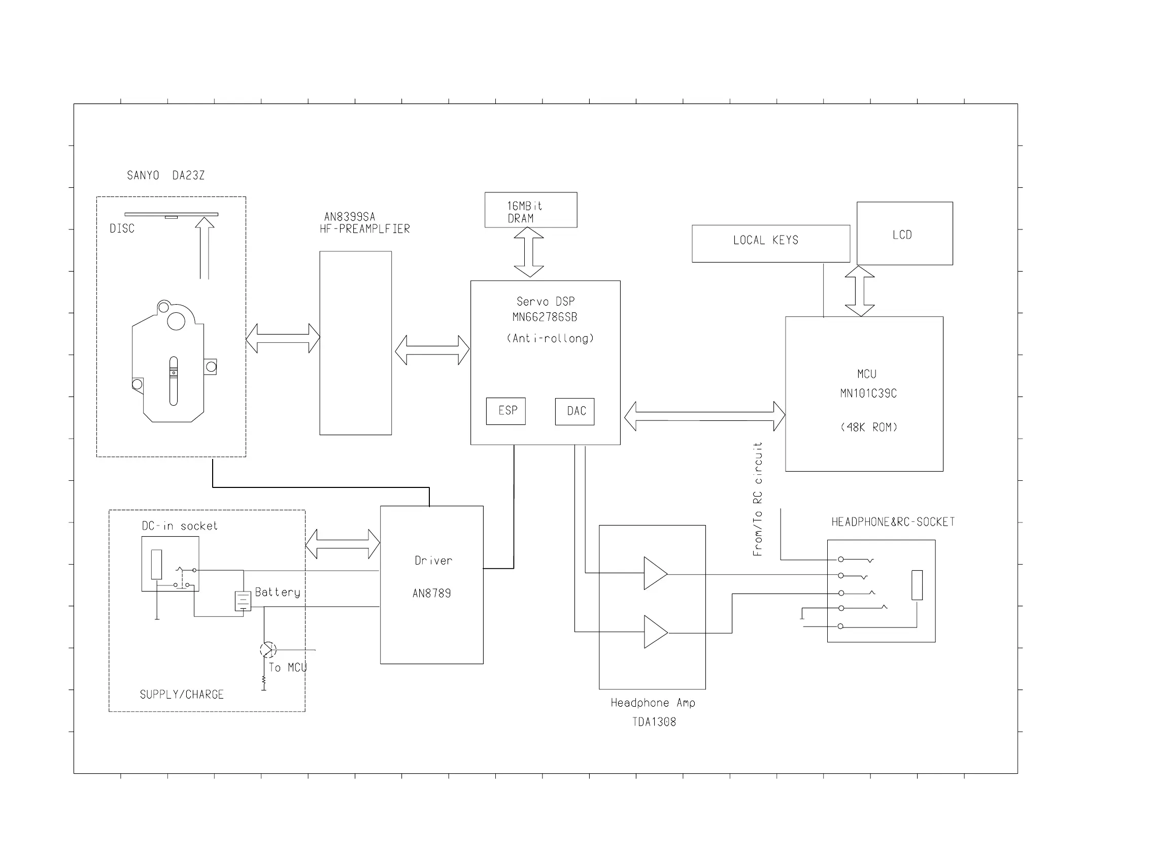
Philips AX3217 - Blockdiagram

Philips AX3217
29 pages
Print Icon
To Next Page IconTo Next Page
To Next Page IconTo Next Page
To Previous Page IconTo Previous Page
To Previous Page IconTo Previous Page
Loading...
3 -9 3 - 9
BLOCKDIAGRAM

Related product manuals