EasyManua.ls Logo

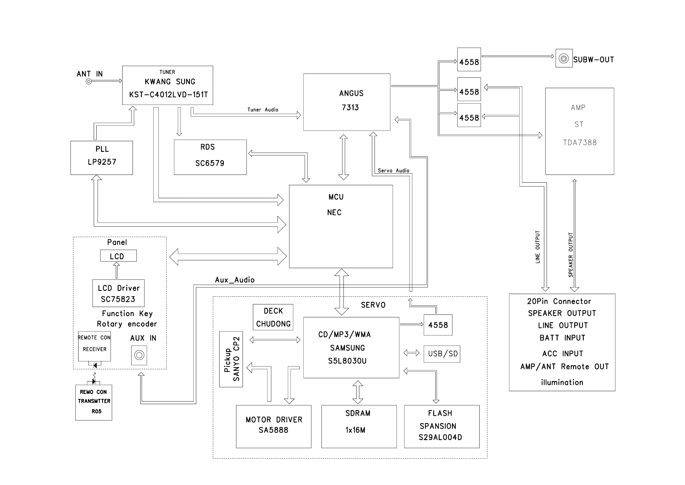
Philips CEM210X - Block Diagram

Philips CEM210X
29 pages
Print Icon
To Next Page IconTo Next Page
To Next Page IconTo Next Page
To Previous Page IconTo Previous Page
To Previous Page IconTo Previous Page
Loading...
C
EM210
SET BLOCK DIAGRAM
4 - 1 4 - 1