EasyManua.ls Logo

Philips DCM276/55 - Overview of the Main Unit

Philips DCM276/55
24 pages
Print Icon
To Next Page IconTo Next Page
To Next Page IconTo Next Page
To Previous Page IconTo Previous Page
To Previous Page IconTo Previous Page
Loading...
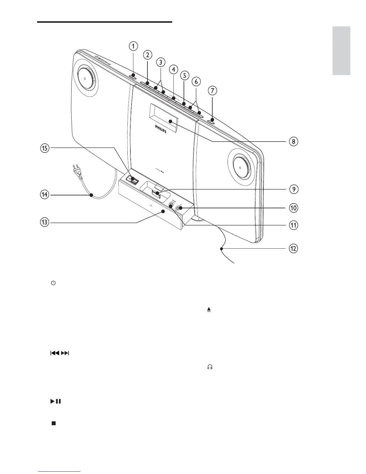
7
f VOLUME + / -
Adjust volume.
g
Open/close the disc compartment.
h Display panel
Show current status.
i Dock for iPod
j
Jack for the headphone.
k MP3 LINK
Audio input jack (3.5mm ) for an
external audio device.
l FM antenna
Improve FM reception.
Overview of the main unit
a
Turn on the unit, or switch to
standby mode, or switch to Eco
Power standby.
b SOURCE
Select a source: CD, FM tuner, USB,
iPod, or MP3 link.
c
/
Skip to the previous/next track.
Search within a track.
Tune to a radio station.
Select 12 hour or 24 hour format.
d
Start or pause play.
e
Stop play or erase a program.
English
EN

Related product manuals