EasyManua.ls Logo

Philips DVDR630VR - Rear Panel

Philips DVDR630VR
61 pages
Print Icon
To Next Page IconTo Next Page
To Next Page IconTo Next Page
To Previous Page IconTo Previous Page
To Previous Page IconTo Previous Page
Loading...
15
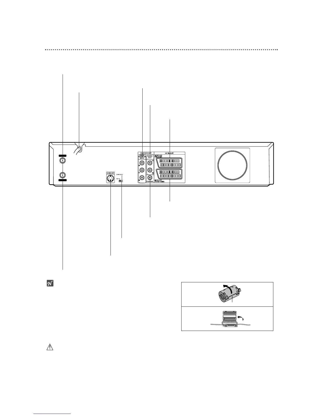
Rear Panel
AERIAL
RF.OUT
Caution
Do not touch the inner pins of the jacks on the rear
panel. Electrostatic discharge may cause permanent
damage to the unit.
AERIAL
Connect the aerial to this terminal.
COAXIAL (Digital audio out jack)
Connect to digital (coaxial) audio equipment.
AC Power Cord
Plug into the power source.
S-VIDEO OUT
Connect to a S-Video Input on TV.
RF. OUT
Passes the signal from the AERIAL to your TV/monitor
EURO AV 1 AUDIO/VIDEO
Connect to a TV with SCART jack.
AUDIO OUT (Left/Right)
Connect to an amplifier, receiver or stereo system.
COMPONENT/PROGRESSIVE SCAN VIDEO OUT (Y Pb Pr)
Connect to a TV with Y Pb Pr inputs.
EURO AV 2 DECODER
Connect the audio/video output of an external source
(Pay-TV decoder, Set Top Box, VCR, etc.).
VIDEO OUTPUT Switch
Select either COMPONENT VIDEO OUT or RGB signal of EURO AV1 AUDIO/
VIDEO terminal depending on how you connect the Recorder to the TV.
Important Note
About Ferrite Core
Be sure to attach the ferrite core to the power cord (for
connecting to this unit).
This ferrite core can reduce noises.
1 Push the stopper [a] of the ferrite core to open.
2
Wind the power cord twice on ferrite core.
3
Close the ferrite core until it clicks.
1
2
[a]

Table of Contents

Other manuals for Philips DVDR630VR

Related product manuals