EasyManua.ls Logo

Philips DVDR75 - Page 17

Philips DVDR75
117 pages
Print Icon
To Next Page IconTo Next Page
To Next Page IconTo Next Page
To Previous Page IconTo Previous Page
To Previous Page IconTo Previous Page
Loading...
17
DVDR75
22
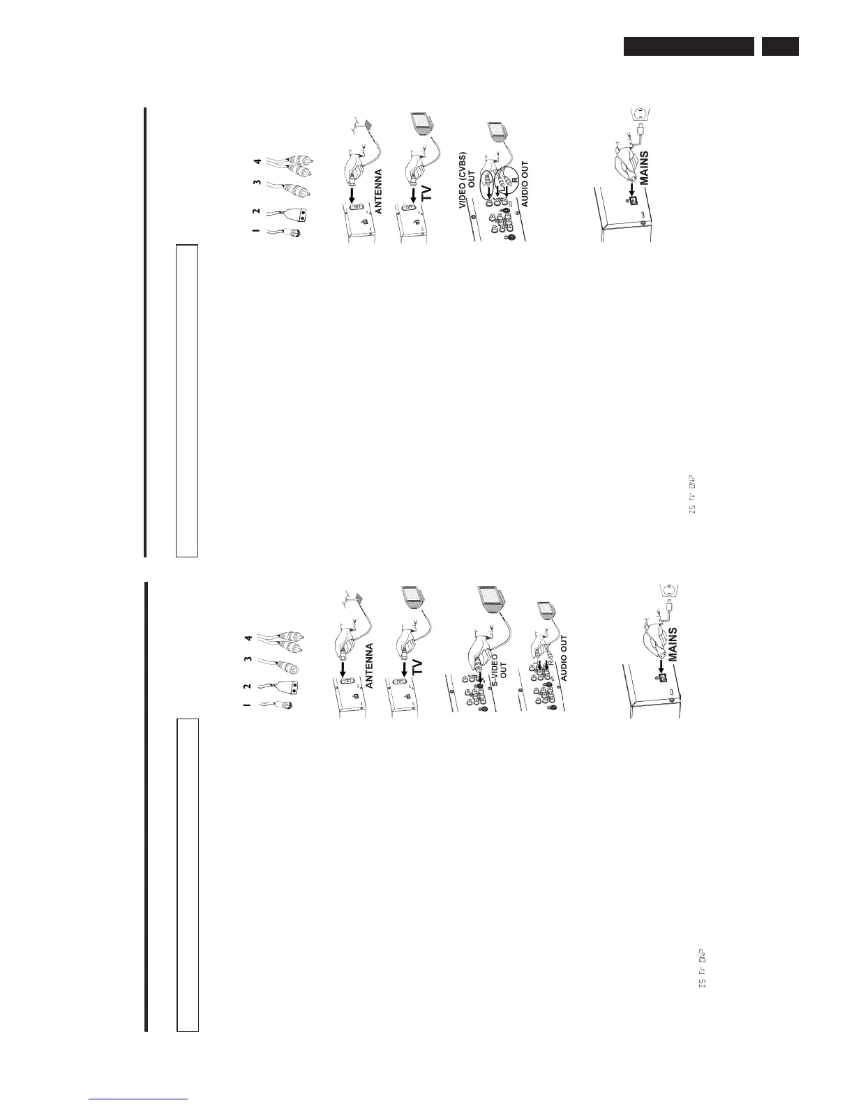
Este cabo de conexão, também conhecido como cabo SVHS, é utilizado para transmitir os sinais de
brilho (sinal Y) e de cor (sinal C) separadamente. Este conector/plugue mini DIN também é chamado
de conector/plugue Hosiden.
Tenha à mão os seguintes cabos:
um cabo de antena (1, fornecido), um cabo de força (2, fornecido), um cabo s-Video (SVHS) (3), um
cabo de áudio (4, fornecido, com plugues vermelho e branco).
Remova o cabo da antena do seu TV e conecte na entrada
ANTENNA IN na traseira do Gravador de DVD.
Ligue uma das pontas do cabo de antena fornecido na saída TV OUT
na traseira do Gravador de DVD. Ligue a outra ponta no conector de
entrada da antena do TV.
Utilize um cabo S-Video (SVHS) e ligue uma das pontas no conector de
saída S-VIDEO OUT na traseira do Gravador de DVD. Ligue a outra
ponta do cabo na entrada de vídeo S-Video do TV (normalmente
chamada S-Video In ou SVHS In. Veja o manual de instruções do TV.).
Utilize o cabo de áudio fornecido e ligue os plugues de uma das
pontas aos conectores vermelho/branco OUT L AUDIO R na traseira
do Gravador de DVD (próximos à saída S-VIDEO OUT). Ligue os
plugues da outra ponta aos conectores de entrada de áudio vermelho
e branco do TV (normalmente chamados de Audio In ou AV In. Veja o
manual de instruções do TV.).
Ligue o TV. Mude para o canal correspondente à entrada SVHS ou
selecione o número do canal correspondente. Consulte o manual de
instruções do TV para saber o número do canal.
Ligue o cabo de força na entrada
))
))
) MAINS na traseira do Gravador
de DVD e na tomada elétrica. As funções mais importantes do
Gravador de DVD vão aparecer na tela do TV.
Após o ajuste inicial ser completado, esta função não irá mais aparecer.
Para que esta função apareça outra vez, consulte o capítulo
"Preferências do usuário", seção "Standby".
Pressione STANDBY/ON
22
22
2 no Gravador de DVD. A mensagem
" " (O TV está ligado?) vai aparecer na tela do TV.
Agora, leia a seção "Ajuste inicial" no capítulo "Configurando seu Gravador de DVD".
Conectando com um cabo S-Video (Y/C)
1
2
3
4
5
6
7
Conectando o Gravador de DVD
23
Este cabo, que normalmente apresenta conectores RCA amarelos, é utilizado para transmitir sinais
de Vídeo Composto (FBAS, CVBS). Neste método de transmissão, os sinais de cor e de brilho são
transmitidos pelo mesmo cabo. Em certas circunstâncias, este método pode levar a problemas com a
imagem, como o efeito "moiré".
Tenha à mão os seguintes cabos:
um cabo de antena (1, fornecido), um cabo de força (2, fornecido), um de vídeo (CVBS) (3, fornecido,
com plugues amarelos), um cabo de áudio (4, fornecido, com plugues vermelho e branco).
Remova o cabo da antena do seu TV e conecte na entrada
ANTENNA IN na traseira do Gravador de DVD.
Ligue uma das pontas do cabo de antena fornecido na saída TV OUT
na traseira do Gravador de DVD. Ligue a outra ponta no conector de
entrada da antena do TV.
Utilize o cabo de vídeo fornecido (CVBS) e ligue uma das pontas no
conector de saída OUT VIDEO (CVBS) na traseira do Gravador de
DVD. Ligue a outra ponta do cabo no conector de entrada de vídeo
do TV (normalmente amarelo). Veja o manual de instruções do TV.).
Utilize o cabo de áudio fornecido e ligue os plugues de uma das
pontas aos conectores vermelho/branco OUT L AUDIO R na traseira
do Gravador de DVD (abaixo do conector Video in). Ligue os
plugues da outra ponta aos conectores de entrada de áudio vermelho
e branco do TV (normalmente chamados de Audio In ou AV In. Veja o
manual de instruções do TV.).
Ligue o TV. Mude para o canal correspondente à entrada de Áudio/
Vídeo ou selecione o número do canal correspondente. Consulte o
manual de instruções do TV para saber o número do canal.
Ligue o cabo de força na entrada
))
))
) MAINS na traseira do Gravador
de DVD e na tomada elétrica. As funções mais importantes do
Gravador de DVD vão aparecer na tela do TV.
Após o ajuste inicial ser completado, esta função não irá mais aparecer.
Para que esta função apareça outra vez, consulte o capítulo
"Preferências do usuário", seção "Standby".
Pressione STANDBY/ON
22
22
2 no Gravador de DVD. A mensagem
"
" (O TV está ligado?) vai aparecer na tela do TV.
Agora, leia a seção "Ajuste inicial" no capítulo "Configurando seu Gravador de DVD".
Conectando com um cabo de vídeo (CVBS)
1
2
3
4
5
6
7
Conectando o Gravador de DVD

Other manuals for Philips DVDR75

Related product manuals