EasyManua.ls Logo

Philips Electrical - Electrical Schematic Diagrams; Packing List; Service Life; Disposal Rules

Philips Electrical
28 pages
Print Icon
To Next Page IconTo Next Page
To Next Page IconTo Next Page
To Previous Page IconTo Previous Page
To Previous Page IconTo Previous Page
Loading...
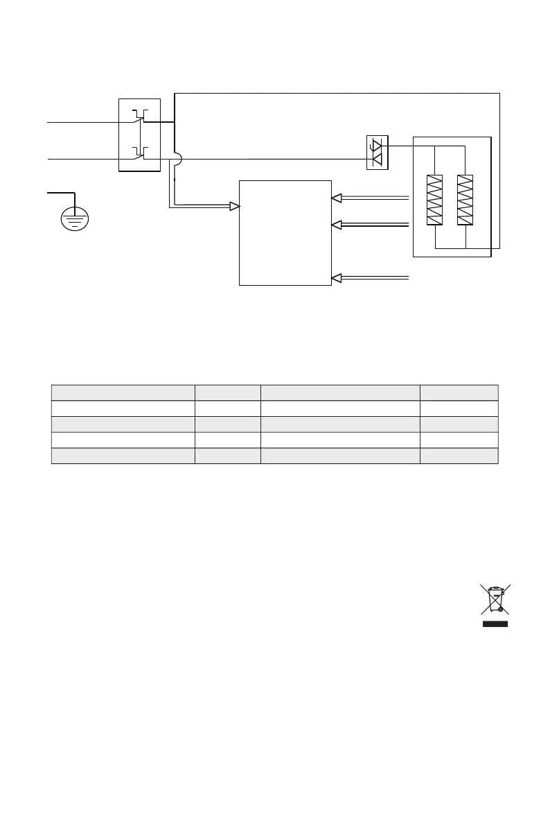
11.ELECTRICAL SCHEMATIC DIAGRAMS

L Brown

Thermal Circuit Breaker
Power input
Electrical control
display board
Silicon control
Silicon control
Flow sensor
Temperature
sensor
Heating element
Figure H
The above wiring diagram is for reference. Wiring subject to change without notice.
12. PACKING LIST
13. SERVICE LIFE
The service life of the water heater is 8 years, provided that the relevant installation and operation requlations
are observed.
14. DISPOSAL RULES
 accordance with the rules,regulations

the end of the device's useful life, take it to a collection point for recycling, if this is required by the
rules and regulations in your area. This will help avoid possible consequences for the environment and
human health,and will also encourage the reuse of product components information about where
and how you can dispose of the appliance can be obtained from your local authorities.
EN 11
Complete device 1X
Self-tapping screw 2X
User manual 1X
Flow valve 1X
Tee 1X
Colloidal particles 2X
Install siding 1X
 2X
Braided tubes 1X
15. GUARANTEE & SERVICE

center in your country. lf there is no customer care center in your country, go to a local dealer. Within two years
from the date of purchase, you will receive free warranty service for any damage caused by the manufacturing


door-to-door service. Please show the proof of purchase to the service personnel during maintenance.