EasyManua.ls Logo

Philips N4307 - Printed Panel Removal; Playback Voltages

Philips N4307
8 pages
Print Icon
To Next Page IconTo Next Page
To Next Page IconTo Next Page
To Previous Page IconTo Previous Page
To Previous Page IconTo Previous Page
Loading...
TAPE
RECORDER
SERVICING
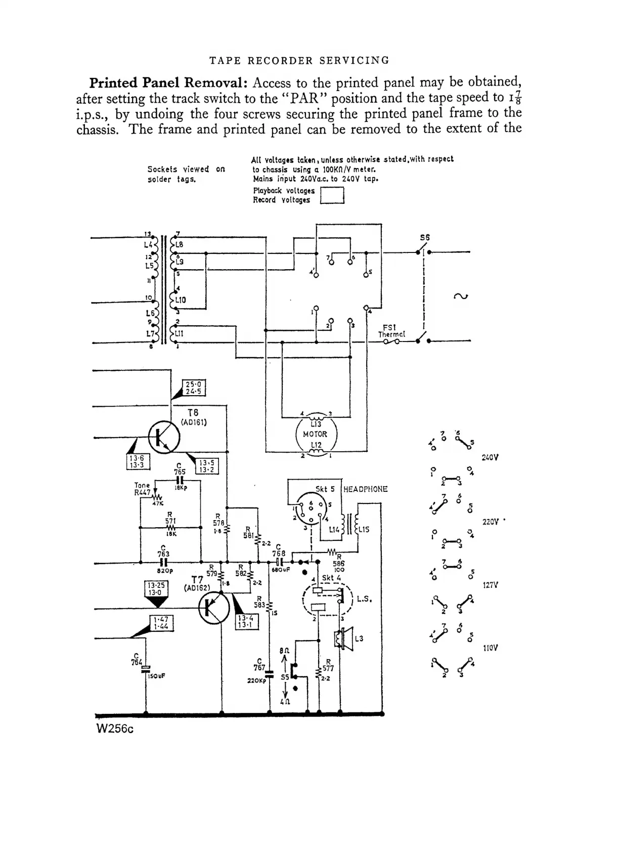
Printed
Panel
Removal:
Access
to
the
printed
panel
may
be
obtained,
after
setting
the
track
switch
to
the
‘“‘PAR”
position
and
the
tape
speed
to
1%
i.p.s.,
by
undoing
the
four
screws
securing
the
printed
panel
frame
to
the
chassis.
The
frame
and
printed
panel
can
be
removed
to
the
extent
of
the
Sockets
viewed
on
solder
tags,
25:0
24:5
T&
(AD161)
8200
gia
13-25
ine
(ADI62)
W256c
All
voltages
taken,
unless
otherwise
stated,
with
respect
to
chassis
using
a
100KN/V
meter.
Mains
input
240Va.c,
to
240V
tap.
Playback
voltages
[|
Record
yoitages
240V
“oO
if)
220¥
°
o
Qs
Ns
.
On
Own
o*s
Ou
&
2
8
i
L3
vf
é
H0V
c
767
22OKp
Pee)
Bo
5
it
~~]
J
Va
Pe
m&~
>

Related product manuals