EasyManua.ls Logo

Philips PM2519 - HEF40245 B OCTAL BUS TRANSCEIVER WITH 3-STATE OUTPUTS

Philips PM2519
126 pages
Print Icon
To Next Page IconTo Next Page
To Next Page IconTo Next Page
To Previous Page IconTo Previous Page
To Previous Page IconTo Previous Page
Loading...
10-5
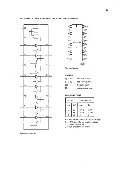
HEF40245B
OCTAL
BUS
TRANSCEIVER
WITH
3-STATE
OUTPUTS
Functional
diagram
HEF402458
ST4468
840706
Pinning
diagram
PINNING
Ag
to
Az
data
input/output
Bg
to
B7
data
input/output
DR
direction
input
EO
output
enable
input
FUNCTION
TABLE
Inputs
Inputs/outputs
H
=
HIGH
state
(the
more
positive
voltage)
L_
=
LOW
state
(the
less
positive
voltage)
X
=
state
is
immaterial
Z
=
high
impedance
OF
F-state

Related product manuals