EasyManua.ls Logo

Philips PM2519 - Page 59

Philips PM2519
126 pages
Print Icon
To Next Page IconTo Next Page
To Next Page IconTo Next Page
To Previous Page IconTo Previous Page
To Previous Page IconTo Previous Page
Loading...
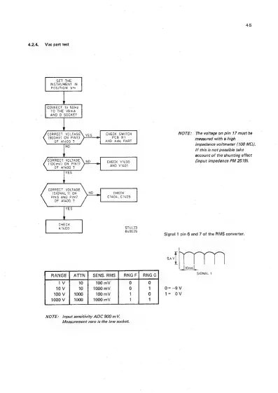
4.2.4.
Vac
part
test
SET
THE
INSTRUMENT
IN
POSITION
V~
CONNECT
1V
SOHz
TO
THE
VQmA
AND
0
SOCKET
CHECK
SWITCH
PCB
NI
AND
Ade
PART
CHECK
V1400
AND
V1401
CHECK
C1404,
C1405.
CORRECT
VOLTAGE
(900mV)
ON
PIN13
OF
A1400
?
CORRECT
VOLTAGE
(100
mV)
ON
PIN17
OF
A1400
?
CORRECT
VOLTAGE
(SIGNAL
1)
ON
PING
AND
PIN7
OF
A1Z00
?
$T4423
840629
NOTE:
Input
sensitivity
ADC
900
mV.
Measurement
zero
is
the
low
socket.
ed
45
NOTE:
The
voltage
on
pin
17
must
be
measured
with
a
high
impedance
voltmeter
(100
MQ).
If
this
is
not
possible
take
account
of
the
shunting
effect
(input
impedance
PM
2519).
Signal
1
pin
6
and
7
of
the
RMS
converter.
ou
34
10ms
SIGNAL
1
O=-9V
1=
OV

Related product manuals