EasyManua.ls Logo

Philips SW3660/00 - Location of PC Boards; Specifications

Philips SW3660/00
14 pages
Print Icon
To Next Page IconTo Next Page
To Next Page IconTo Next Page
To Previous Page IconTo Previous Page
To Previous Page IconTo Previous Page
Loading...
1-2
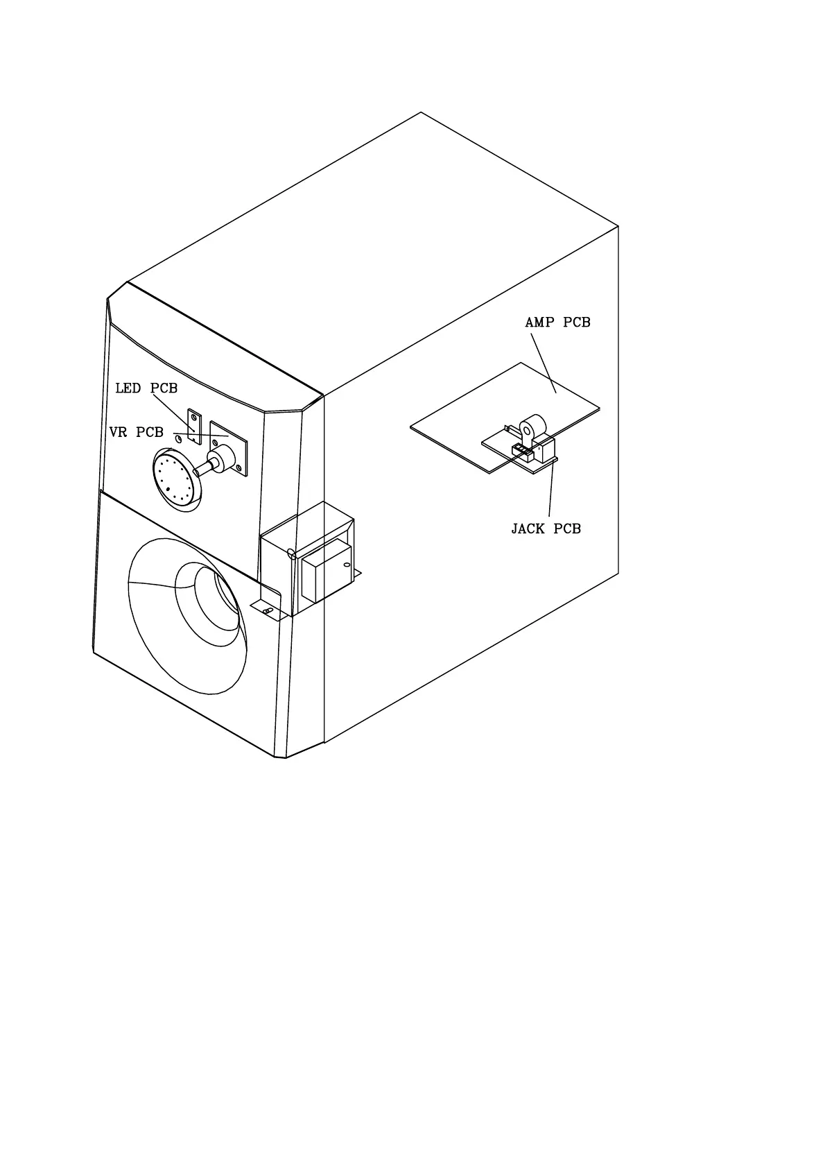
LOCATION OF PC BOARDS
SPECIFICATIONS
SUBWOOFER
Subwoofer (not magnetically shielded design)........................................................................................................6.5"
Output Power...........................................................................................................................................40W (4 ,DIN)
THD (Total Harmonic Distortion) .............................................................................................................10% at 55Hz
Reproduction Frequency Response..........................................................................................................37Hz-145 Hz
Phase Switch....................................................................................................................................................0
0
,
180
0
Input Sensitivity (Subwoofer In)......................................................................................................................460 mVrms
AC Power ..............................................................................................................................220 - 240V / 50 - 60 Hz
Power Consumption..........................................................................................................32 W (at 1/8 Rated Power)
Dimensions (w x h x d).....................................................................................................200 mm x 310mm x 350 mm
W eight................................................................................................................................................................6.5 Kg

Related product manuals