EasyManua.ls Logo

Pinnacle PRO Series - Assembly and Maintenance; Assembly Instructions; Maintenance and Servicing

Pinnacle PRO Series
5 pages
Print Icon
To Next Page IconTo Next Page
To Next Page IconTo Next Page
To Previous Page IconTo Previous Page
To Previous Page IconTo Previous Page
Loading...
MAINTENANCE AND SERVICING:
To prevent serious injury from tool failure: Do not use damaged equipment.
If any part becomes damaged, have the problem corrected before further use.
To prevent serious injury from electric shock:
Disconnect the power cord from the cabinet before maintenance and servicing.
1. Periodically, inspect the general condition of the trolley. Check for:
- Loose hardware,
- Misalignment or binding of moving parts,
- brake operation,
- Castor swivel function and movement,
- Cracked or broken parts,
- Any other condition that may aect its safe operation.
2. Wipe external surfaces of the trolley with a clean cloth.
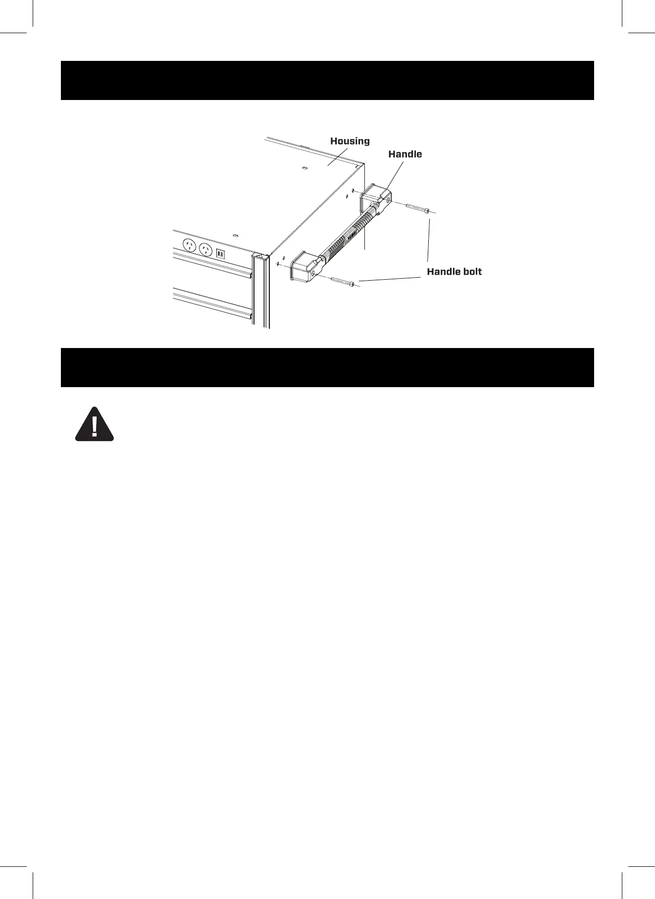
ASSEMBLY INSTRUCTIONS:
1. Bolt handles to each end of the housing using the two M8 handle bolts for each handle.

Other manuals for Pinnacle PRO Series