EasyManua.ls Logo

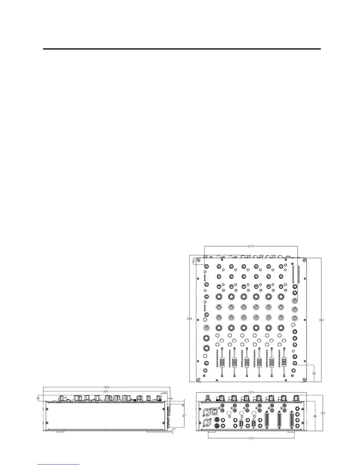
PlayDifferently Model 1 - Specifications; Mixer Dimensions

PlayDifferently Model 1
22 pages
Print Icon
To Next Page IconTo Next Page
To Next Page IconTo Next Page
To Previous Page IconTo Previous Page
To Previous Page IconTo Previous Page
Loading...
Specifications
SpecificationsSpecifications
Specifications
17
1717
17
0)( J7;GGJ7LG-
3 ?8!G=;!-
66-" #>8G-#77EI78EI
! #88G-#77EI78EI
4" R7G
F*"! 78EI#98EIJ8:#7G
4&E4J 8%88;Y630)8G-".
2 K GK;8G
3#2 Z#88G
6':!2 #;8GEI
0)E ;?8O!0/9?2 
1 ?8O)
O ?%98.1>%8.
4 6LW)OL7)E%?16=7)O9?)E7=
9