EasyManua.ls Logo

point POAC8014 - Page 18

Default Icon
56 pages
Print Icon
To Next Page IconTo Next Page
To Next Page IconTo Next Page
To Previous Page IconTo Previous Page
To Previous Page IconTo Previous Page
Loading...
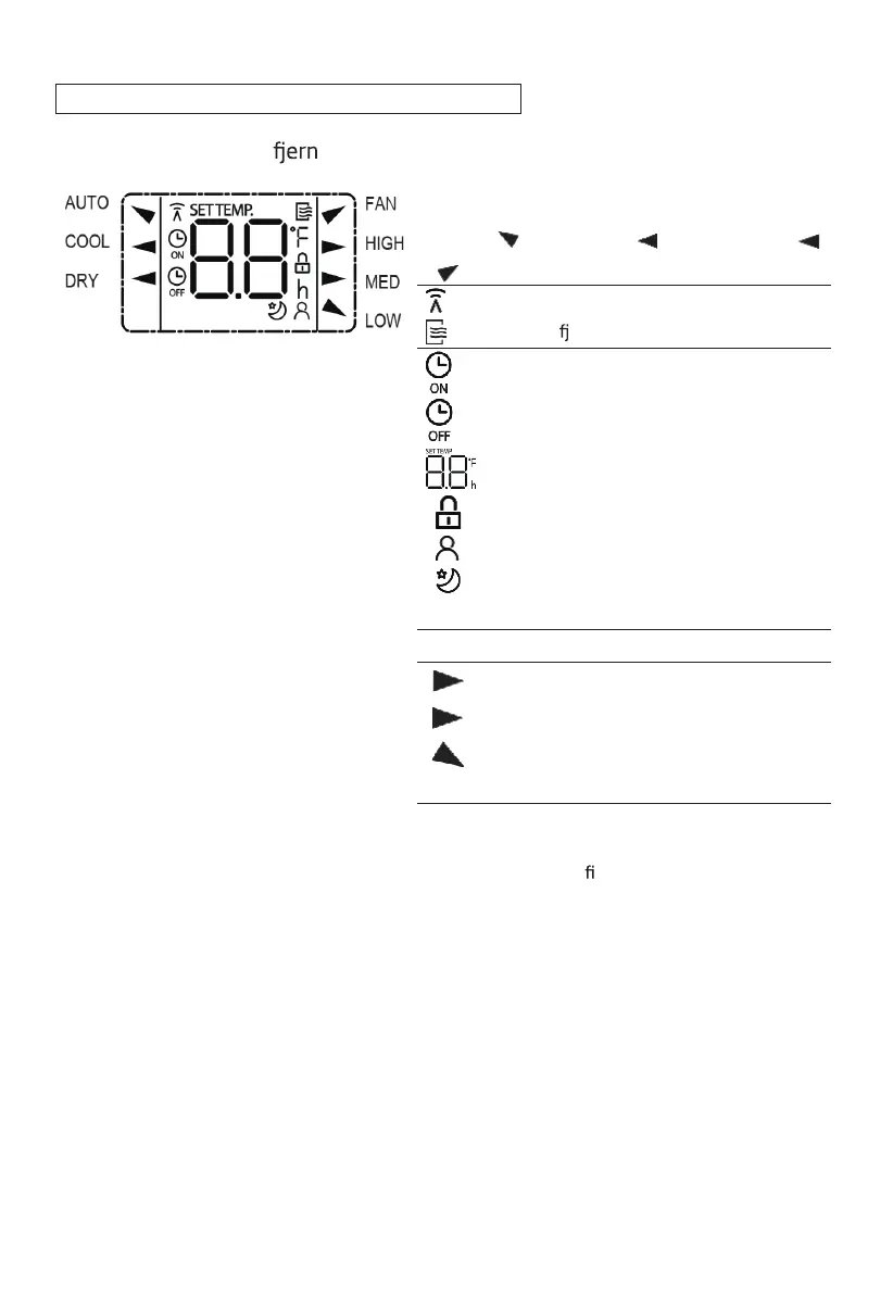
Indikatorer på fjernkontrollens skjerm
Informasjon vises når
kontrollen slås på.
Modusvisning
AUTO
COOL
(Kjøling)
DRY
(Tørke)
FAN (Vifte)
Vises når data overføres.
Vises når ernkontrollen er PÅ.
Vises når TIMER ON (Av -tidtaker) er satt
Vises når TIMER OFF (Av -tidtaker) er satt
Viser innstilt temperatur, romtemperatur eller tid
ved innstilling av tidtaker
Indikerer at alle gjeldende innstillinger er låst
Vises når I SENSE (Føle) -funksjonen er aktivert
Vises når SLEEP (Søvn) -funksjonen er aktivert
Indikasjon på vindhastighet
HØY
Høy hastighet
MED
(Middels)
Middels hastighet (noen enheter)
LAV
Lav hastighet
Ingen visning
Automatisk viftehastighet
Merk:
Alle indikatorene vist i guren er til for tydelig
illustrasjon. Under selve handlinger vises kun de relative
funksjonstegnene på skjermen.
18