EasyManua.ls Logo

PowerPro PP25TKO-1 - Ensamblaje del Tanque

Default Icon
112 pages
Print Icon
To Next Page IconTo Next Page
To Next Page IconTo Next Page
To Previous Page IconTo Previous Page
To Previous Page IconTo Previous Page
Loading...
104
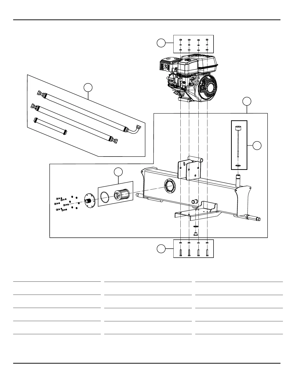
REPUESTOS
Ensamblaje del tanque
1
3
2
4
5
5
25T
Elemento
N.º de kit Descripción
1 622526 Ensamblaje
del tanque, 25T
2 622528 Kit del ensamblaje
del filtro
3 622529 Ensamblaje de la
tapa de ventilación
4 622497 Kit de manguera,
soporte
5 622492 Kit de accesorios,
25T y 30T
30T
Elemento
N.º de kit Descripción
1 622622 Ensamblaje
del tanque, 30T
2 622528 Kit del ensamblaje
del filtro
3 622529 Ensamblaje de la
tapa de ventilación
4 622497 Kit de manguera,
soporte
5 622492 Kit de accesorios,
25T y 30T
35T
Elemento
N.º de kit Descripción
1 622626 Ensamblaje
del tanque, 35T
2 622528 Kit del ensamblaje
del filtro
3 622529 Ensamblaje de la
tapa de ventilación
4 622497 Kit de manguera,
soporte
5 622549 Kit de accesorios,
35T

Table of Contents