EasyManua.ls Logo

PowerTek 12-13 - Work Zone

Default Icon
17 pages
Print Icon
To Next Page IconTo Next Page
To Next Page IconTo Next Page
To Previous Page IconTo Previous Page
To Previous Page IconTo Previous Page
Loading...
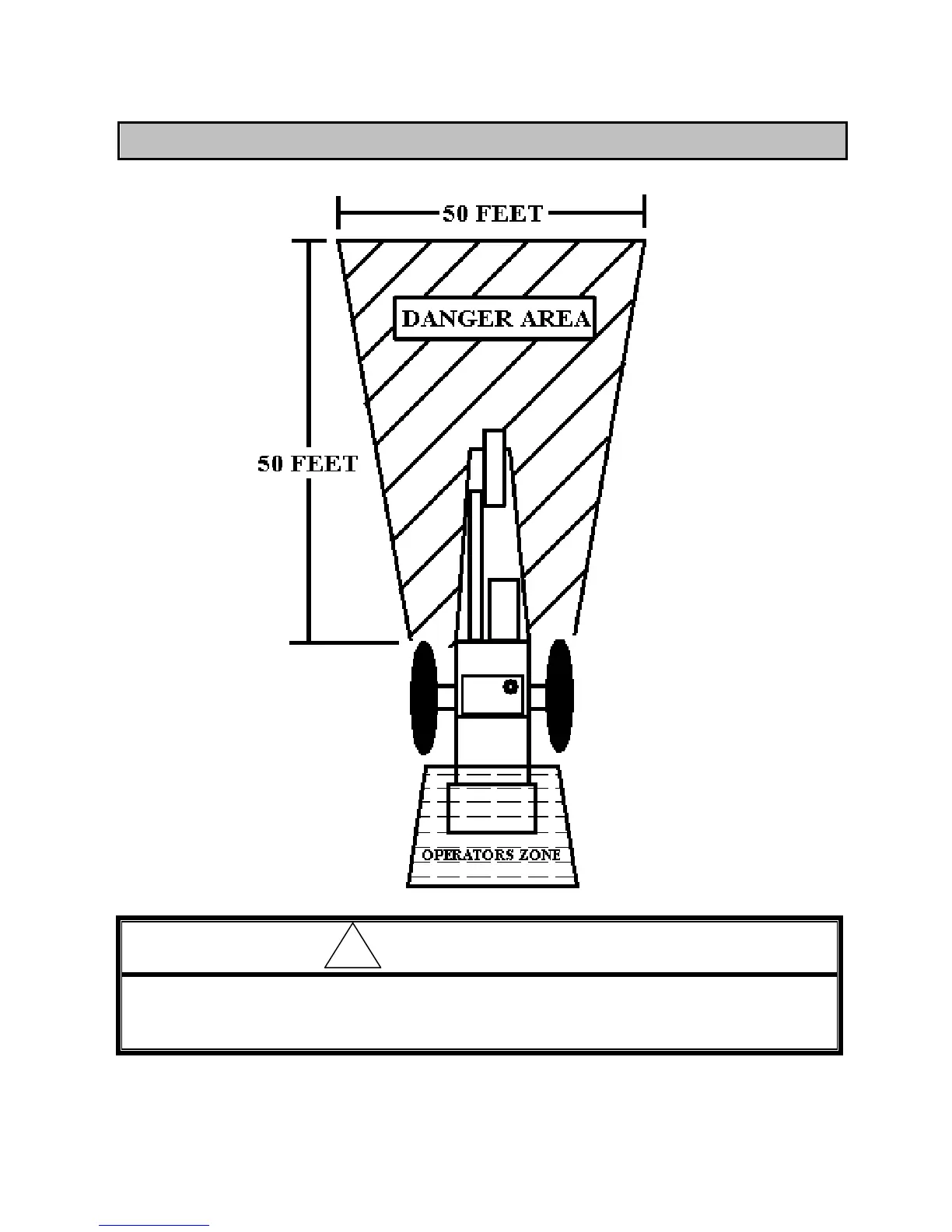
WORK ZONE POWERTEK
5
! WARNING
When operating grinder do not allow anyone to be in the danger zone while stump
grinder is running or serious injury or death may occur.