EasyManua.ls Logo

Precision Power PRO 104 - Features

Default Icon
21 pages
Print Icon
To Next Page IconTo Next Page
To Next Page IconTo Next Page
To Previous Page IconTo Previous Page
To Previous Page IconTo Previous Page
Loading...
6
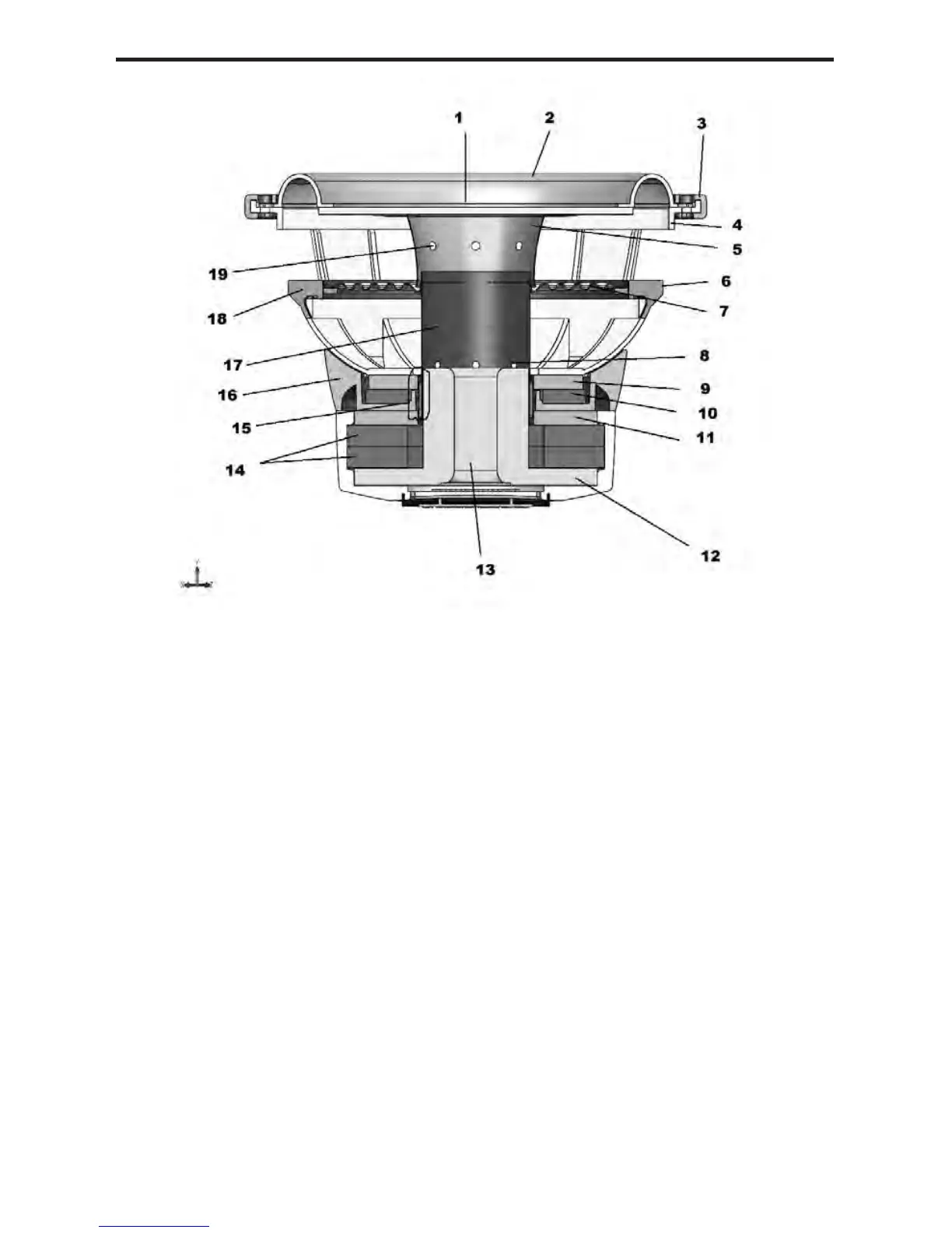
FEATURES
1 Woven Fiberglass over a Rohr cell foam center flat panel.
2 Tall, wide, balanced, NBR Foam (high density expanded
polyester foam) surround for linear controlled long excursion
using a Tri Radius symmetrical edge design optimized on
non-linear FEA
3 Rubber wrap around two way mounting gasket.
4 Custom Cast Aluminum frame.
5 Aluminum flat panel to voice coil former attachment yoke.
6 Custom terminals and impedance jumpers.
7 Tinsel leads woven to single flat interlaced Conex spider.
8 Voice coil former vent holes. Part of enhanced voice coil
cooling system (forced convection).
9 10mm thick steel front gap plate. Part of Mmag dual gap
motor assembly.
10 Magnetic ring consisting of 12 donut style ceramic magnets
for front gap of dual gap motor. Part of Mmag dual gap
motor assembly. Total magnet weight of items 10 & 14 is 155
oz.

Related product manuals