EasyManua.ls Logo

Prestige PR60BISOE - Page 20

Default Icon
24 pages
Print Icon
To Next Page IconTo Next Page
To Next Page IconTo Next Page
To Previous Page IconTo Previous Page
To Previous Page IconTo Previous Page
Loading...
20
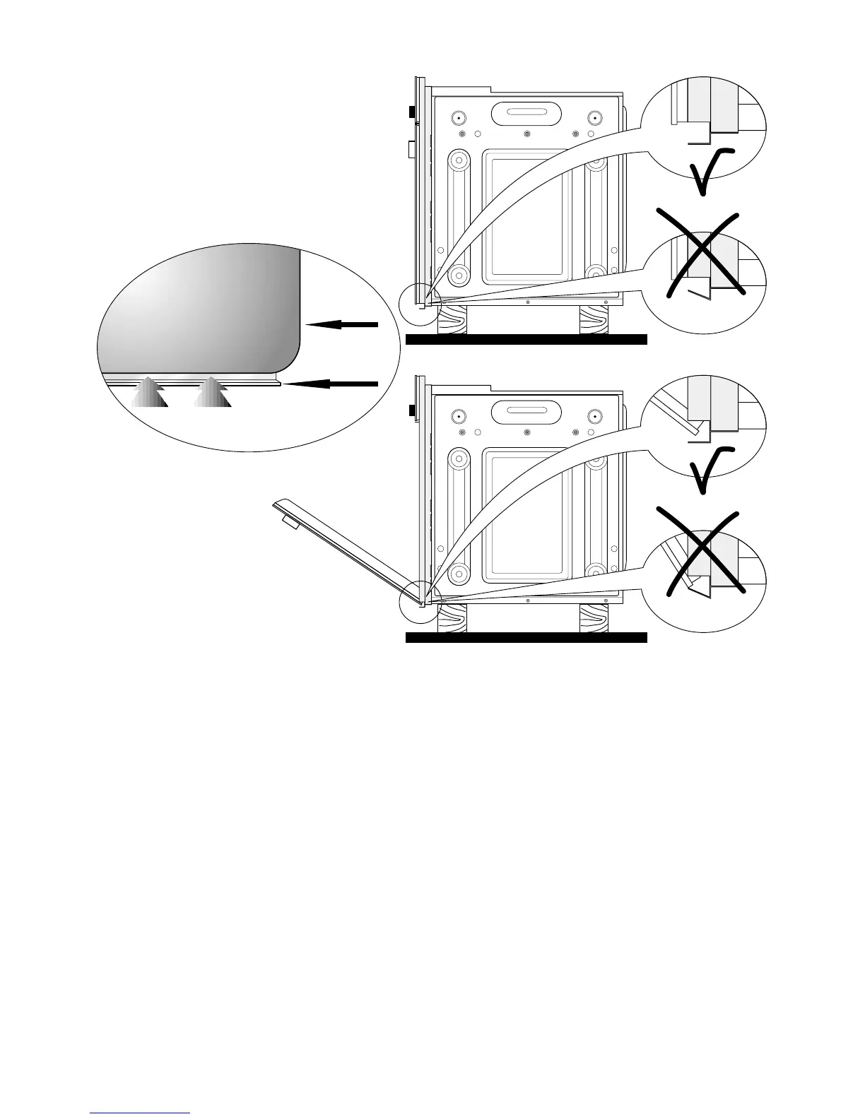
OVEN DOOR
LOWER TRIM
AIR FLOW
IMPORTANT:
To avoid damage to the lower trim please note the following instructions.
The lower trim is designed to allow for good air circulation and the correct opening of
the oven door.
To ensure the trim is not damaged due to the appliance being placed on the floor, the
appliance should be suitably supported as in above illustrations.
After installation the appliance door should be slowly opened to ensure no damage has
occurred.
No responsibility for lower trim damage will be accepted if these instructions have
not been followed.
Fig. 5.5

Related product manuals