EasyManua.ls Logo

Primer DL-11 - Page 33

Primer DL-11
Print Icon
To Next Page IconTo Next Page
To Next Page IconTo Next Page
To Previous Page IconTo Previous Page
To Previous Page IconTo Previous Page
Loading...
31
MODELO DS/DL-23
ATENCION
Para el modelo DS/DL-23 Calefacción eléctrica NO SE PUEDE realizar el cambio de 400V a
230V sin cambiar el contactor, el interruptor general y la sección de los cables.
Para ello, consultar con el Servicio de Asistencia Técnica.
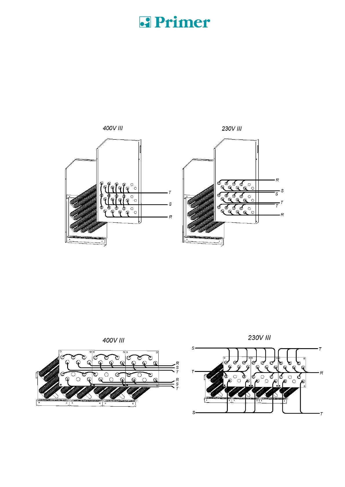
Conjunto resistencias (Solo para calefacción eléctrica)
Únicamente para pasar de 230V a 400V).
Las figuras son una imagen esquemática de las conexiones, no una visión real de las mismas.
MODELO DS/DL-28D/35D
ATENCION
Para el modelo DS/DL-28D/35D Calefacción eléctrica NO SE PUEDE realizar el cambio de
400V a 230V sin cambiar el contactor, el interruptor general y la sección de los cables.
Para ello, consultar con el Servicio de Asistencia Técnica.
Conjunto resistencias (Solo para calefacción eléctrica).
La batería eléctrica de la DS/DL-28D consta de 3 módulos de resistencias:

Table of Contents

Related product manuals