EasyManua.ls Logo

Pro-face GP-4603T - Page 21

Pro-face GP-4603T
241 pages
Print Icon
To Next Page IconTo Next Page
To Next Page IconTo Next Page
To Previous Page IconTo Previous Page
To Previous Page IconTo Previous Page
Loading...
GP4000 Series Hardware Manual
21
*1
When connecting the CA3-ISO232-01, the COM port’s pin 9 setting should be
VCC. You can define COM port settings in GP-Pro EX or in the GP unit’s offline
menu.
*2
The RS-232C Isolation Unit corresponds to only RS-422/485 (4 wire)
communication.
*3
The RS-232C Isolation Unit does not correspond to Serial Multilink
communication.
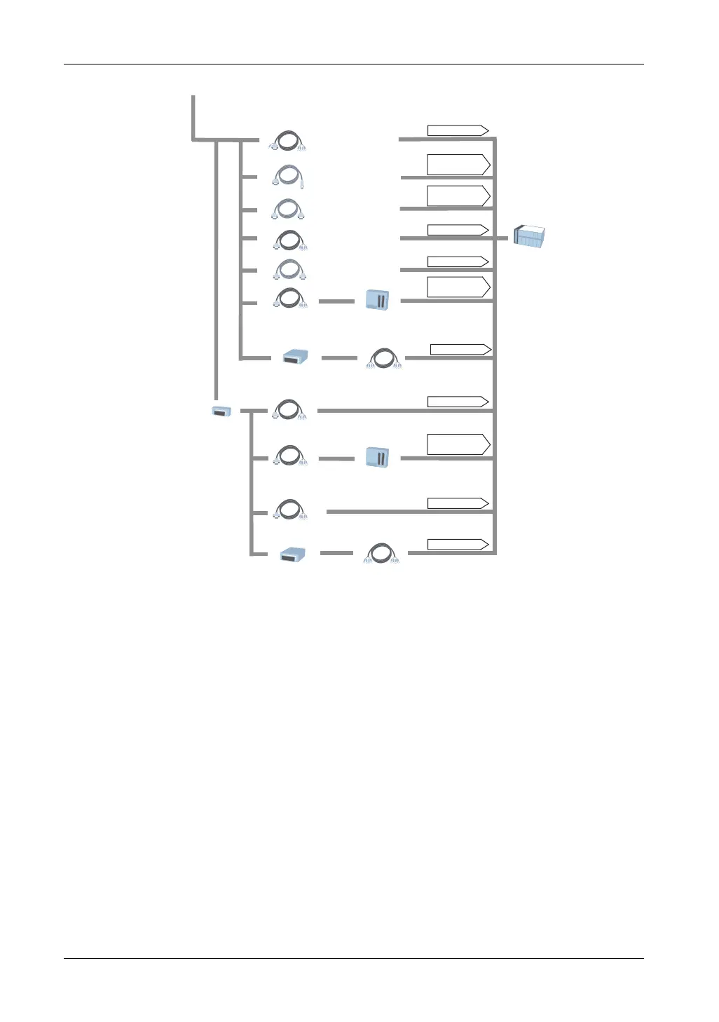
Host Controller
PLC etc.
Mitsubishi PLC
A-Series Connection Cable
CA3-CBLA-01
Mitsubishi PLC
FX-Series Connection Cable
CA3-CBLFX/1M-01
CA3-CBLFX/5M-01
MPI Cable
ST03-A2B-MPI21-PFE
RS-422 Port
RS-485 Port
RS-422 Port
RS-422 Port
Programming
Console Port
Programming
Console Port
Serial Interface(COM1:RS-422 mode)
RS-422 Cable
CA3-CBL422-01
Mitsubishi PLC A, QnA,
FX Series' 2 Port Adapter II
GP070-MD11
RS-422 Cable
CA3-CBL422/5M-01
2 Port
Adapter Cable
CA3-MDCB11
COM Port
Conversion
Adapter
CA3-ADPCOM-01
Programming
Console Port
RS-422 Port
RS-422 Cable
(Prepared by user)
Terminal Block
Conversion Adapter
CA3-ADPTRM-01
RS-422 Port
Mitsubishi PLC A, QnA,
FX Series' 2 Port Adapter II
GP070-MD11
2 Port
Adapter Cable
PFXZCBCBMD1
Programming
Console Port
Multi-Link Cable
CA3-CBLMLT-01
Multi-Link Cable
PFXZCBCBML1
RS-422 Terminal Block
Conversion Adapter
PFXZCBADTM1
RS-422 Port
RS-422 Cable
(Prepared by user)

Table of Contents

Related product manuals