EasyManua.ls Logo

pro.point 12V DC A-frame - Page 25

pro.point 12V DC A-frame
28 pages
Print Icon
To Next Page IconTo Next Page
To Next Page IconTo Next Page
To Previous Page IconTo Previous Page
To Previous Page IconTo Previous Page
Loading...
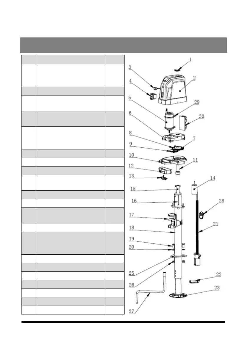
V 1,0 CRIC DE REMORQUE À 8787780
CADRE TRIANGULAIRE ÉLECTRIQUE 3 500 LB, 12 V C.C.
Visitez www.princessauto.com pour plus d'informations 13
RÉPARTITION DES PIÈCES
N
O
DESCRIPTION
QTÉ
1 Couvercle en
caoutchouc du carter
moteur
1
2
Boîtier en plastique
1
3 Interrupteur de lampe
à DÉL
1
4
Interrupteur de
fonctionnement
1
5-10
Ensemble de carter
de moteur à
engrenages
1
11
Arbre d’entraînement
1
12 Proge-lampe 1
13
DÉL
1
14 Protection thermique
automatique de 20 A
1
15
Vis ACME
1
16 Tube intérieur 1
17
Support de
rangement du raccord
1
18 Tube extérieur 1
19
Boulons catégorie 5, 1
po de long, 3/8 po-16
UNC
3
20 Rondelles plates 3
21
Connecteur à 7 voies
1
22 Goupille de sécurité 1
23
Patte escamotable
1
24 --- ---
25
Plaque de montage
1
26 Contre-écrou 3/8 po- 3

Related product manuals