EasyManua.ls Logo

Proline UPS I2000 - Page 40

Proline UPS I2000
41 pages
Print Icon
To Next Page IconTo Next Page
To Next Page IconTo Next Page
To Previous Page IconTo Previous Page
To Previous Page IconTo Previous Page
Loading...
-37-
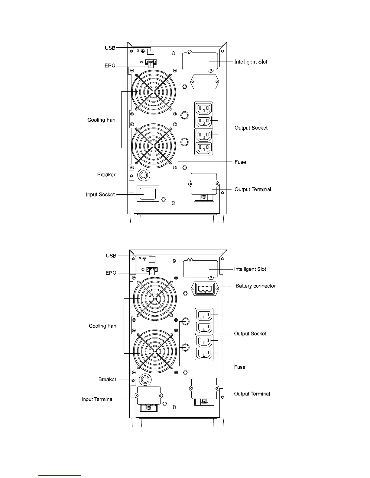
Back View of I3000
Back View of I3000S

Related product manuals