EasyManua.ls Logo

Prolux 2.0-PRO - Using the Attachments

Prolux 2.0-PRO
16 pages
Print Icon
To Next Page IconTo Next Page
To Next Page IconTo Next Page
To Previous Page IconTo Previous Page
To Previous Page IconTo Previous Page
Loading...
- 8 -
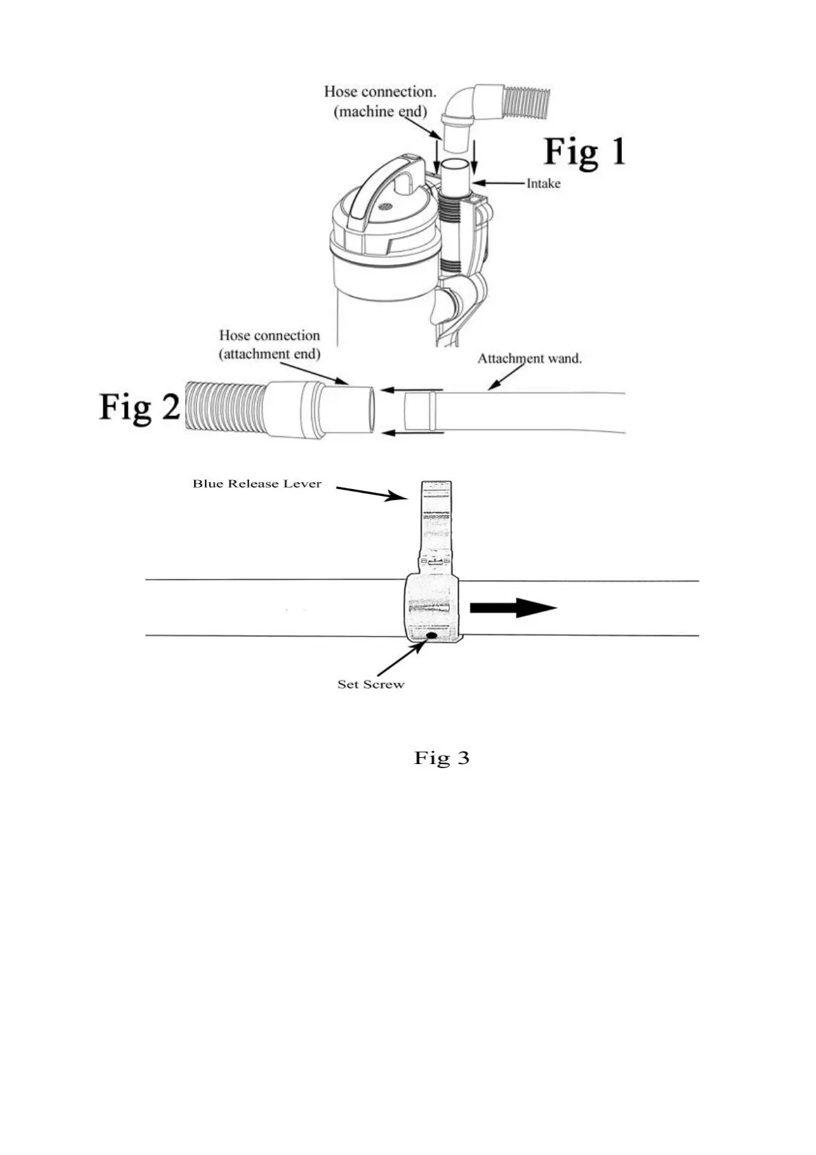
USING THE ATTACHMENTS
DUSTING BRUSH
The Dusting Brush is used for all types of furniture. (Fig 3)
CREVICE TOOL
Use for cleaning radiators, cracks & crevices along corners, and baseboards and in-between cushions. (Fig 4)
PET HAIR REMOVAL BRUSH
The Pet Hair Removal Brush is used for removing pet hair from upholstery.
The unique design makes it an excellent tool for removing unwanted pet hair from virtually any surface. (Fig 5)
NOTE: This tool is not a grooming tool and should not be used on animals.
Caution: DO NOT use the Pet Hair Removal Brush on delicate or woven fabrics that may snag.
DO NOT use the Pet Hair Removal Brush on wooden floors as this accessory may cause mild

Related product manuals