EasyManua.ls Logo

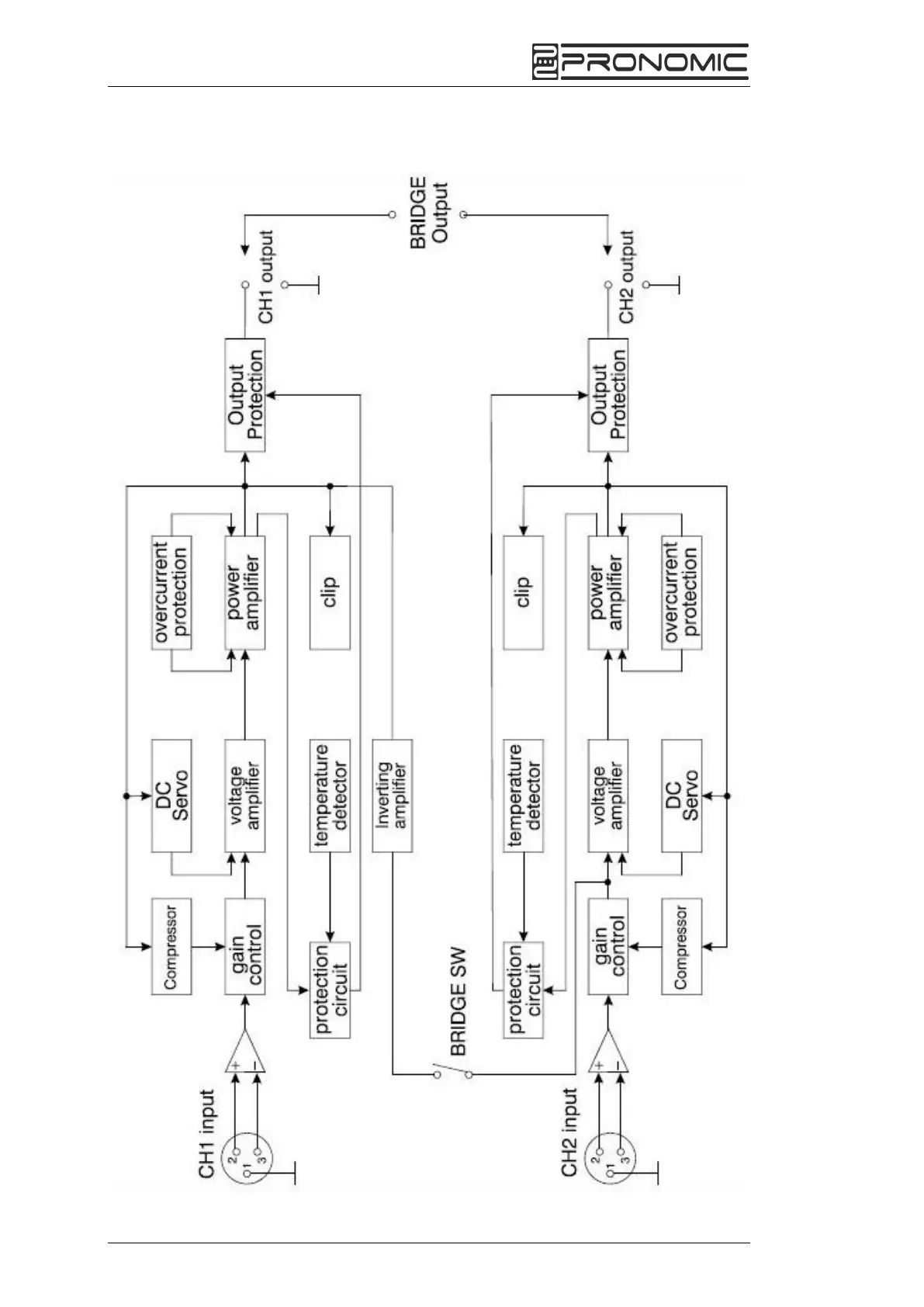
Pronomic TL 200 - Block Diagram

Pronomic TL 200
22 pages
Print Icon
To Next Page IconTo Next Page
To Next Page IconTo Next Page
To Previous Page IconTo Previous Page
To Previous Page IconTo Previous Page
Loading...
Power amplifier TL series
18 Pronomic TL Serie / ArtNr.: 00063864/00021732/00021733/00021734 2022-11-21
Block Diagram