EasyManua.ls Logo

Prossimo PDW6-SL - Using Your Dishwasher (cont.); Loading the Upper Basket; Adjusting the Upper Basket

Prossimo PDW6-SL
32 pages
Print Icon
To Next Page IconTo Next Page
To Next Page IconTo Next Page
To Previous Page IconTo Previous Page
To Previous Page IconTo Previous Page
Loading...
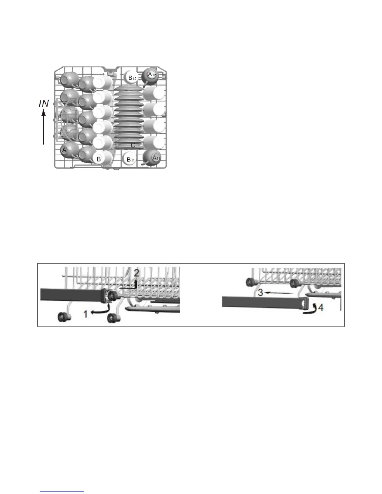
Loading the upper basket
The upper basket is most suited to washing delicate and light
dishware, such as glasses, coffee & tea cups, saucers, plates, bowls
and shallow pans (that are not heavily soiled).
14
e.
A. Cups
B. Glasses
C. Saucers
o You should position the dishes
and cookware in such a way that
they are not moved by the spray
of water during the wash cycl
o Use the diagram above as a guide to the most appropriate way
to load the upper basket.
Adjusting the upper basket
Your dishwasher has an adjustable upper basket which you can alter to
the most suitable position for the items you are going to wash in the
upper and lower baskets.
o The height of the upper basket can be adjusted by placing the
wheels on a different height of the rails. Long items such as
cutlery, salad servers and knives should be placed on the shelf
so they do not obstruct the rotation of the spray arms.
o IMPORTANT: The upper basket must be empty when you are
removing it from the guide supports.
o NOTE: For easier stacking of pots and pans the cup shelf spikes
can be folded down.